PVC-U-Stegplatten
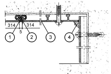
PVC-U-Stegplatten, System BKU mit der Zulassungsnummer Z-1.42.1 des Deutschen Institutes für Bautechnik, Berlin, sind 314 mm breit und können in jeder erforderlichen Länge hergestellt werden (Bild 5.3.2.5.2.2.2-1) (Bild 5.3.2.5.2.2.2-2) [FI-Fried] .
Bild 5.3.2.5.2.2.2-1:
Klemmleisten K0 und K5 [FI-Fried] |
Bild 5.3.2.5.2.2.2-2:
BKU-Profil [FI-Fried] |
Die gas- und wasserdichte Verbindung der einzelnen Profile untereinander wird mittels BKU-Klemmleisten mit eingelegtem, elastomerem Dichtprofil entsprechend DIN 4060 [DIN4060:1998] (Bild 5.3.2.5.2.2.2-1) (Bild 5.3.2.5.2.2.2-2) gewährleistet.
Die Verlegung der Platten kann sowohl mit radialer (Bild 5.3.2.5.2.2.2-3) als auch mit axialer Steganordnung (Bild 5.3.2.5.2.2.2-4) erfolgen. Die Auskleidungselemente werden grundsätzlich immer in den Fußpunkten und, falls erforderlich, auch im übrigen Bereich mit der Kanalinnenwand verschraubt.
Bild 5.3.2.5.2.2.2-3:
Vorschlag für die Teilauskleidung eines Abwasserkanals mit PVC-U-Stegplatten (Steganordnung radial) [FI-Fried] |
Bild 5.3.2.5.2.2.2-4:
Vorschlag für die Teilauskleidung eines Abwasserkanals mit PVC-U-Stegplatten (Steganordnung axial) (BKU-System) [FI-Fried] |
Eindringendes Grundwasser wird bei radialer Steganordnung durch Öffnungen in den Fußauflagern (Bild 5.3.2.5.2.2.2-3) , bei axialer Anordnung der Stege jeweils im Rohrverbindungsbereich oder in vorgesehenen Entwässerungsgassen abgeleitet (Abschnitt 5.3.2.5.3) .
Zur Überbrückung von Maßtoleranzen bei radialer Steganordnung werden Paßstücke eingeschweißt (Bild 5.3.2.5.2.2.2-5) , überlappend geklebt und geschweißt (Bild 5.3.2.5.2.2.2-6) oder mittels Klemmprofilen eingepaßt (Bild 5.3.2.5.2.2.2-7) (Bild 5.3.2.5.2.2.2-8).
Bild 5.3.2.5.2.2.2-5:
Ausgleichsmöglichkeiten für Toleranzen beim Einsatz des BKU-Systems [FI-Fried] - Paßstück eingeschweißt |
Bild 5.3.2.5.2.2.2-6:
Ausgleichsmöglichkeiten für Toleranzen beim Einsatz des BKU-Systems [FI-Fried] - Paßstück eingeklebt und eingeschweißt |
Bild 5.3.2.5.2.2.2-7:
Ausgleichsmöglichkeiten für Toleranzen beim Einsatz des BKU-Systems [FI-Fried] - Paßstück mit Klemmleiste |
Bild 5.3.2.5.2.2.2-8:
Ausgleichsmöglichkeiten für Toleranzen beim Einsatz des BKU-Systems [FI-Fried] - Paßstück mit Klemmleiste |
Rohrverbindungsbereiche können entweder durchlaufend überbrückt oder z.B. mittels Polyband und PUR-Verfugung geschlossen werden (Bild 5.3.2.5.2.2.2-9) .
Die Einbindung eines Anschlußkanals in eine BKU-Auskleidung mit radialer Steganordnung zeigt (Bild 5.3.2.5.2.2.2-10) . Der Übergangsbereich wird durch Einkleben einer PVC-Manschette abgedichtet.
Bild 5.3.2.5.2.2.2-9:
Überbrückung von Rohrstößen mit dem BKU-System [FI-Fried] Auskleidung durchlaufend (oben) Auskleidung bis zu den Stirnseiten (unten) |
Bild 5.3.2.5.2.2.2-10:
Einbindung eines Anschlußkanals in das BKU-System (Steganordnung radial) [FI-Fried] |
Eckausbildungen können entweder elastisch verfugt (Bild 5.3.2.5.2.2.2-11) (Bild 5.3.2.5.2.2.2-12) oder mittels spezieller elastomerer Profile (Bild 5.3.2.5.2.2.2-13) ausgeführt werden.
Bild 5.3.2.5.2.2.2-11:
Eckausbildung mit BKU-Profilen [FI-Fried] - Eckausbildung Wand/Wand - elastisch verfugt |
Bild 5.3.2.5.2.2.2-12:
Eckausbildung mit BKU-Profilen [FI-Fried] - Eckausbildung Decke/Wand - elastisch verfugt |
Bild 5.3.2.5.2.2.2-13:
Eckausbildung mit BKU-Profilen [FI-Fried] - Eckausbildung mit elastomerem Dichtprofil |
