Entwicklung und Implementierung einer Abflusssteuerung für das Kanalnetz der Stadt Wien
11.12.2007
Die Stadt Wien hat nach umfassenden Untersuchungen zur Aktivierung von Speicherräumen im Kanalnetz beschlossen, ein Echtzeitsteuerungssystem für das Wiener Kanalnetz zu entwickeln und zu implementieren. Diese Entwicklung und Implementierung erstreckten sich über einen Zeitraum von mehr als vier Jahren und wurde Ende 2005 abgeschlossen.
Das historisch gewachsene Kanalnetz der Stadt Wien wird seit einigen Jahren erweitert, um die Anforderungen insbesondere hinsichtlich der Mischwasserentlastungen zu erfüllen. Dieser Ausbau ist noch nicht abgeschlossen, sondern wird noch mehrere Jahre in Anspruch nehmen. Dieses Konzept umfasst im Wesentlichen den Bau großer Stauraumkanäle entlang der Donau, dem Donaukanal, dem Wienfluss und der Liesing, um bei Regenwetter die Entlastungen aus den Mischwasserüberläufen aufzunehmen. Der Betrieb der Stauraumkanäle erfordert eine zentrale Abflusssteuerung (Sewer Management System – SeMaSys), um folgende Hauptziele zu erreichen:
- Minimierung der Mischwasseruberlaufe in die Donau, den Donaukanal, den Wienfluss und die Liesing,
- Vergleichmasigung der Zulauffrachten zur Hauptklaranlage,
- Verbesserungen des Kanalnetzbetriebs durch Uberwachung der Abflussvorgange und Reduzierung der Ablagerungen durch automatische Spülung.
Das Kanalnetz der Stadt Wien hat eine gesamte Länge von ca. 2 200 km bei einer gesamten Fläche der Stadt von ca. 260 km2 und einem mittleren Versiegelungsgrad von knapp 50 Prozent. Die angeschlossene Einwohnerzahl liegt bei ca. 1,8 Millionen In Abbildung 1 sind die fünf Haupteinzugsgebiete mit ihren Hauptsammlern dargestellt. Das durch eine Abflusssteuerung maximal aktivierbare Speichervolumen in den verschiedenen Haupteinzugsgebieten ist in Tabelle 1 zusammengestellt. Damit ergibt sich ein spezifisches Speichervolumen von 72 m³/ha für das gesamte Wiener Einzugsgebiet. Unter Berücksichtigung eines Abschlags von 50 Prozent für Stauraumkanäle verbleibt immer noch ein spezifisches Speichervolumen von 36 m³/ha, das dem Stand der Technik für derartige Gewässer entspricht.
| Einzugsgebiet | Speichervolumen [m3] | Versiegelte Fläche [ha] | Spezifisches Speichervolumen [m3/ha] | Anzahl der Steuerungspunkte | ||
| Phase | ||||||
| 1 | 2 | 3 | ||||
| LDS | 126 000 | 1 590 | 79,2 | 4 | 4 | 4 |
| RHSK | 300 000 | 2 820 | 106,4 | 3 | 7 | |
| LHSK | 11 000 | 650 | 16,9 | 1 | 1 | |
| WSK | 143 000 | 2 520 | 56,7 | 11 | 22 | |
| Total | 628 000 | 8 720 | 72,0 | 4 | 19 | 43 |
- Schieber und verfahrbare Wehre,
- Pumpen
unter Berücksichtigung von
- Wasserstanden und/oder Abflussen im Kanalnetz,
- Entlastungsmengen und -scheitelabflussen in die Gewasser,
- Einstau- und Uberstauverhaltnissen im Kanalnetz.
- lokalen Steuerungseinrichtungen zur Einstellung der gewunschten Durchflusse und/oder Wasserstande,
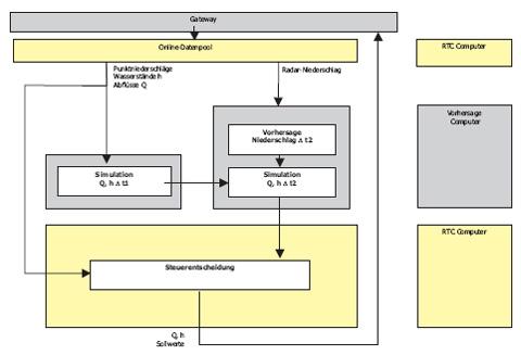
- Messsystem zur Erfassung der Wasserstande, Durchflusse und Punktniederschlage sowie Radar-Niederschlagsdaten die von Austro Control bezogen werden,
- Leitsystem zur Sammlung und Speicherung der Messwerte, Ubertragung der Soll-Werte, Darstellung von Messwerten und Systemzustanden etc.,
- zentrales Steuerungssystem zur Ermittlung der Soll-Werte, basierend auf gemessenen und prognostizierten Messwerten einschlieslich Online-Niederschlags- und -Abflussvorhersage.
Niederschlagsmessungen:
Insgesamt sind mehr als 25 Punktmessgeräte innerhalb des Einzugsgebietes installiert. Ein Großteil der Niederschlagsmessgeräte ist bereits über Telefon oder Glasfaserkabel an das Leitsystem angeschlossen. Dort werden die Daten auf Plausibilität geprüft und über den Gatway-Rechner an den Steuerungsrechner übertragen. Das Zeitintervall für die Messungen beträgt eine Minute. Zusätzlich werden Radar-Niederschlagsdaten für die Niederschlags-/Abfluss-Vorhersage verwendet, die per Internet von Austro Control bezogen werden.
An den Steuerungspunkten sowie an weiteren kritischen Stellen im Kanalnetz sind Wasserstands- und Durchflussmessgeräte installiert. An den Überläufen sind nur Wasserstandsmessgeräte eingebaut. Insgesamt sind derzeit 40 Durchflussmessgeräte und 20 Wasserstandsmessgeräte an 25 Punkten im Kanalnetz installiert. Die Messwerte werden über Telefonleitungen bzw. Glasfaserkabel zum Leitsystem übertragen.
Im Leitsystem werden sämtliche Informationen zusammengeführt, in einer Datenbank gespeichert und maßgebende Informationen visualisiert. Die Verbindung zwischen Leitsystem und Steuerungssystem ist über ein Gateway realisiert. Vom Leitsystem aus ist auch eine manuelle Ansteuerung der Steuerungseinrichtungen möglich. Abbildung 3 zeigt den Hauptbildschirm für das Leitsystem, von dem aus in weitere Ansichten verzweigt werden kann.
Das Wiener Kanalnetz umfasst insgesamt ca. 55 000 Haltungen. Zur Reduzierung der Rechenzeit insbesondere für die Entwicklung der Steuerungsregeln und für die Online-Simulation wurde ein Grobnetz, bestehend aus ca. 2 500 Haltungen entwickelt (Abbildung 4). Die abflusswirksamen Flächen wurden aus Infrarot- Luftbildern digitalisiert. Das Hystem-Extran-Modell des Feinnetzes wie auch des Grobnetzes wurde anhand von Niederschlag- Abfluss-Messungen kalibriert.
Die Steuerentscheidungen, das heißt die Festlegung neuer Stellgrößen für die Steuerungseinrichtungen, erfolgen in ITWHControl. ITWH-Control dient dabei sowohl als Werkzeug für die Entwicklung der Regelbasis im Offline-Modus wie auch für den Betrieb der Steuerungseinrichtungen im Online-Modus. Das Herzstück von ITWH-Control ist ein Regel-Interpreter.
Für die Niederschlagsvorhersage werden Radar-Niederschlagsdaten verwendet, die von Austro Control per Internet bezogen werden. Als Vorhersagemodell wird das Tracking-Verfahren verwendet, das auf der Bewegung einzelner Regenzellen aufbaut. Durch die Identifizierung einzelner Regenzellen in aufeinander folgenden Radarbildern werden deren Zugrichtung und -geschwindigkeit ermittelt und daraus die zukünftige örtliche Niederschlagsverteilung ermittelt.
Der erforderliche Zeitbedarf für den Aufbau eines Messnetzes mit derart unterschiedlichen Anforderungen, einerseits für die Modellkalibrierung, andererseits für die Abflusssteuerung, sollte nicht unterschätzt werden. Der Vorteil einer Trennung beider Aufgabenstellungen liegt darin, dass die Daten frühzeitig zur Verfügung stehen und auf eine zentrale Datenerfassung vorerst verzichtet werden kann. Bei der Kombination beider Zielstellungen kann das gesamte System von der Datenerfassung bis hin zur Datenübertragung und zentralen Verarbeitung im Detail getestet werden, bevor das Abflusssteuerungssystem implementiert ist. Das setzt jedoch voraus, dass alle notwendigen Informationen für die Installation des Messsystems frühzeitig zur Verfügung stehen, was insbesondere für den optimalen Standort der Messgeräte nicht immer gegeben ist. Auch die unterschiedlichen Zielrichtungen machen es in der Regel erforderlich, einzelne Messgeräte umzusetzen. Auf jeden Fall sollte gleich zu Beginn ein Algorithmus entwickelt, implementiert und getestet werden, mit dem die Güte der Messungen überprüft werden kann und der fehlerhafte Messungen von einer weiteren Verarbeitung ausschließt. Dass die Messgeräte trotzdem in regelmäßigen Abständen, zu Beginn sicher im ein- bis zweiwöchentlichen Rhythmus, kontrolliert werden müssen, ist selbstverständlich. Die hier gewonnenen Erfahrungen zeigen, dass trotzdem mit einer Ausfallquote von 10 Prozent zu rechnen ist.
Zu Beginn des Projekts lagen lediglich ungeprüfte Kanalnetzdaten in einer Datenbank und keine direkt verwertbaren Angaben zur Oberflächennutzung vor. Die Prüfung der Kanalnetzdaten, die Ermittlung der abflusswirksamen Flächen aus Luftbildern und die Kalibrierung des Modells anhand von Messungen, das heißt die Modellaufstellung, sollte von dem eigentlichen Projekt, der Entwicklung und Implementierung einer Abflusssteuerung getrennt werden. Die notwendigen Simulationsrechnungen wurden an zwei verschiedenen Kanalnetzen, genauer gesagt Modellen, durchgeführt. Detaillierte Berechnungen des Kanalnetzes, das heißt zum Beispiel Rückstaueinflüsse durch Steuerungseingriffe etc., wurden am detaillierten System mit dem hydrodynamischen Modell Hystem- Extran durchgeführt, das sämtliche Haltungen umfasst. Hierdurch ist gewährleistet, dass für sämtliche Elemente des Kanalnetzes Aussagen über die Beeinflussung durch die Abflusssteuerung insbesondere höherer Wasserstände vorliegen. Ein vereinfachtes Kanalnetz, ein sogenanntes Grobnetz, wurde für die Entwicklung der Steuerungsstrategie wie auch für die Online-Simulation entwickelt. Das Grobnetz zeigt in seinem Verhalten vergleichbare Ergebnisse wie das Feinnetz. Auch diese Berechungen wurden mit Hystem-Extran in Verbindung mit ITWH-Control durchgeführt.
Die Zeit von der Entscheidung über den Bau einer Steuerungseinrichtung, aber auch anderer Bauten, bis zu deren Inbetriebnahme wird in der Regel unterschätzt. Dies gilt auch für dieses Projekt. Verzögerungen ergaben sich durch Verschiebung der Bauzeiten in den Winter, Kombination der Baumaßnahme mit anderen Baumaßnahmen und andere mehr. Hinzu kamen Änderungen an den Steuerungseinrichtungen, die sich aus der Steuerungsstrategie ergaben, wie zum Beispiel die Öffnungsgeschwindigkeit von Schiebern oder die minimale Regelgröße. Neben Verzögerungen beim Aufbau und der Inbetriebnahme des Messsystems und der Modellaufstellung war dies der wesentliche Faktor für eine signifikante Abweichung zwischen dem ursprünglichen und dem sich letztlich ergebenden Zeitplan.
Alle Steuerungseinrichtungen sind per Glasfaserkabel an die zentrale Leitwarte angeschlossen. Dieses Glasfasernetzwerk sollte ebenfalls für die schnelle und sichere Übertragung der Messwerte genutzt werden. Der Ausbau des Netzwerkes verzögerte sich jedoch, so dass entscheidende Messwerte per Modem zur Leitwarte übertragen werden mussten. Dies hat immer wieder zu Problemen geführt, da die Leitwarte maßgebliche Daten im Minutenzyklus erwartet, diese jedoch oftmals nicht zeitgerecht übertragen werden konnten.
Die Autoren danken den vielen an dem Projekt beteiligten Mitarbeitern bei der Stadt Wien – MA 30 für die umfassende Bereitstellung von Informationen, die jederzeitige Bereitschaft für offene, intensive Diskussionen, die enge Zusammenarbeit und die Flexibilität bei der Durchführung des Projekts.
Literatur
[1] DWA-M 180: Handlungsrahmen zur Planung der Abflusssteuerung in Kanalnetzen, Hennef, 2005
[2] Fuchs, L.; Beeneken, T.; Scheffer, C.; Spönemann, P.: Model based real-time control of sewer systems using Fuzzy-logic. In: Proc. 7th Int. Conf. on Urban Storm Drainage, SUG-Verlagsgesellschaft, Hannover, 1996, S. 929–934
[3] Fuchs, L.; Beeneken, T.; Verworn, H.-R.; Pfannhauser, G.; Atanasoff, K.; Steinwender, A.: RTC of the Sewer System of the City of Vienna – A Project Perspective. In: Proc. 9th Int. Conf. on Urban Drainage, Portland, Oregon/USA, 2002
[4] Fuchs, L.: Aspekte der Abflusssteuerung, In: Dresdner Berichte 19, Institut für Siedlungs- und Industriewasserwirtschaft der TU Dresden, Dresden, 2002
[5] Fuchs, L.; Günther, H.; Lindenberg, M.: Minimizing the Water Pollution Load by Means of Real-Time Control – The Dresden Example, in: Krebs, P.; Fuchs, L. (Hrsg.): Proc. 6th Int. Conf. Urban Drainage Modelling, 15. bis 17. September 2004, Dresden
[6] ITWH-Control, Programmbeschreibung und Dokumentation, ITWH, 2004
[7] Krämer, S.; Fuchs, L.; Verworn, H.-R.: Aspects of radar rainfall forecast and their effectiveness for real-time control – The example of the sewer system of the city of Viennna. In: Proc. 7th Int. Conf. Urban Drainage Modelling and 4th Int. Conf. Water Sensitive Urban Design, Melbourne/Australien, April 2006
[8] MA 30 – Wien Kanal: Kanalnetzbewirtschaftung für die Stadt Wien, RTC Wien, Berichte und Planunterlagen, nicht veröffentlicht (1998 ff.)
[9] Schilling, W.: Praktische Aspekte der Abflussteuerung in Kanalnetzen, Oldenbourg, München, 1996
[10] Schütze, M.; Butler, D., Beck, M. B.: Optimization of control strategies for urban wastewater systems – an integrated approach. In: Proc. UDM´98, 4th Int. Conf. Developments in Urban Drainage Modelling, 21. bis 24. September 1998, London/Großbritannien
Dieser Artikel wurde mit freundlicher Unterstützung der KA – Abwasser, Abfall 2007 (54) Nr. 7 veröffentlicht.
Weitere News und Artikel
18.08.2025
News
Kanalgipfel 2025: Aussteller Aarsleff
Die Entwässerungssysteme unserer Städte sind ein wesentlicher Bestandteil des kommunalen Anlagevermögens. Die große Zukunftsaufgabe, vor der viele Kommunen stehen, besteht in einer fundierten technischen …
12.08.2025
News
Kanalgipfel 2025: Was meint der Mensch, was sieht die Maschine? | Netzübergreifende vergleichende Untersuchungen zu Qualitätsunterschieden bei Erfassung und Bewertung von Kanalisationen
Die Entwässerungssysteme unserer Städte sind ein wesentlicher …
07.08.2025
News
Kanalgipfel 2025: KI-basierte Substanzbewertung von Kanalisationen
Die Entwässerungssysteme unserer Städte sind ein wesentlicher Bestandteil des kommunalen Anlagevermögens. Die große Zukunftsaufgabe, vor der viele Kommunen stehen, besteht in …
07.08.2025
News
Kanalgipfel 2025: Netzweite operative Bedarfsplanung mittels individuellem Sanierungskosten- und Entscheidungsmodell
Die Entwässerungssysteme unserer Städte sind ein wesentlicher Bestandteil des kommunalen Anlagevermögens. Die große Zukunftsaufgabe, …
14.07.2025
News
Kanalgipfel 2025: Umsetzungsorientierte Finanzierungsstrategien zur Substanzerhaltung von Entwässerungssystemen
Die Entwässerungssysteme unserer Städte sind ein wesentlicher Bestandteil des kommunalen Anlagevermögens. Die große Zukunftsaufgabe, …
09.07.2025
News
Kanalgipfel 2025: Aussteller NIVUS
Die Entwässerungssysteme unserer Städte sind ein wesentlicher Bestandteil des kommunalen Anlagevermögens. Die große Zukunftsaufgabe, vor der viele Kommunen stehen, besteht in einer fundierten technischen und …
03.07.2025
News
Kanalgipfel 2025: Aussteller IBAK
Die Entwässerungssysteme unserer Städte sind ein wesentlicher Bestandteil des kommunalen Anlagevermögens. Die große Zukunftsaufgabe, vor der viele Kommunen stehen, besteht in einer fundierten technischen und …
01.07.2025
News
Kanalgipfel 2025: Aussteller Canal-Control Gruppe
Die Entwässerungssysteme unserer Städte sind ein wesentlicher Bestandteil des kommunalen Anlagevermögens. Die große Zukunftsaufgabe, vor der viele Kommunen stehen, besteht in einer fundierten …
27.06.2025
News
Kanalgipfel 2025: Aussteller WIEDEMANN enviro tec
Die Entwässerungssysteme unserer Städte sind ein wesentlicher Bestandteil des kommunalen Anlagevermögens. Die große Zukunftsaufgabe, vor der viele Kommunen stehen, besteht in einer fundierten …
24.06.2025
News
Kanalgipfel 2025: Aussteller Endoline Rohrsysteme
Die Entwässerungssysteme unserer Städte sind ein wesentlicher Bestandteil des kommunalen Anlagevermögens. Die große Zukunftsaufgabe, vor der viele Kommunen stehen, besteht in einer fundierten …
23.06.2025
News
Kanalgipfel 2025: Aussteller SAERTEX multiCom®
Die Entwässerungssysteme unserer Städte sind ein wesentlicher Bestandteil des kommunalen Anlagevermögens. Die große Zukunftsaufgabe, vor der viele Kommunen stehen, besteht in einer fundierten technischen …
17.06.2025
News
Kanalgipfel 2025: Finanzierungsbedarf in der Wasserwirtschaft
Die Entwässerungssysteme unserer Städte sind ein wesentlicher Bestandteil des kommunalen Anlagevermögens. Die große Zukunftsaufgabe, vor der viele Kommunen stehen, besteht in einer …
Kontakt
Dr.-Ing. Lothar Fuchs, Dipl.-Ing. Thomas Beeneken (Institut für technisch-wissenschaftliche Hydrologie GmbH)
30167 Hannover
