Leitungsgang
Wesentlich erschwert wird die Erneuerung von Kanälen insbesondere in offener Bauweise im innerstädtischen Bereich durch vorhandene Versorgungsleitungen (Abschnitt 1.11) (Bild 5.4.4-1) . Sie stellen oft eine erhebliche Behinderung bei der Bauausführung dar, die sich in den Kosten niederschlägt. Bei schmalen Straßen kann die Behinderung so weit gehen, daß z.B. im Rahmen von Kanalerneuerungsmaßnahmen zwangsläufig alle weiteren im Straßenquerschnitt vorhandenen Leitungen ebenfalls neuverlegt werden müssen (Bild 5.4.4-1) (Bild 5.4.4-2) .
Als Ergebnis entstehen wiederum nur konventionelle Ver- und Entsorgungsleitungen, die getrennt voneinander unterirdisch und damit von außen unzugänglich im Straßenquerschnitt verlegt sind und zu einer Vielzahl von Problemen führen, wie z. B. [Girna70] [Stein97d] :
- Die meisten unterirdischen Leitungen bilden Netzsysteme, d.h. sie sind nur als Einheit voll funktionsfähig. Störungen an einer Stelle wirken sich unter Umständen auf ganze Gebiete aus.
- Die einzelnen unterirdischen Anlagen unterliegen je für sich bestimmten Planungs- und Trassierungsgrundsätzen. Da sie sowohl parallel als auch kreuzend verlegt werden, kommt es stets zu Berührungspunkten. Außerdem beeinflussen sich einzelne Anlagen gegenseitig nachteilig (z.B. Elektrizitätskabel - Fernmeldekabel - Gasleitungen - Fernwärmeleitungen), so daß diesen Gesichtspunkten bei der Planung besondere Beachtung zu schenken ist. Der Raumbedarf der einzelnen unterirdischen Anlagen ist sehr unterschiedlich. Dort, wo sehr große Bauten untergebracht werden müssen, ist der Raum für die übrigen unterirdischen Anlagen stark eingeschränkt. Sorgfältigste Abstimmung ist daher notwendig.
- Alle unterirdischen Anlagen sind komplizierte Ingenieurbauwerke. Nachträgliche Veränderungen, z.B. Reparaturen, Erneuerungen und Ergänzungen, aber auch die Maßnahmen der Wartung und Inspektion sind meist nur mit großem Aufwand möglich. Jede Veränderung bedingt Beeinträchtigungen im Verkehrsraum.
In Erkenntnis dieser Probleme und der gravierenden Vorteile des begehbaren Leitungsgangs, auf die nachfolgend näher eingegangen werden soll, ist es empfehlenswert, letztere im Falle von Kanalerneuerungsmaßnahmen grundsätzlich in die Variantenuntersuchung mit einzubeziehen.
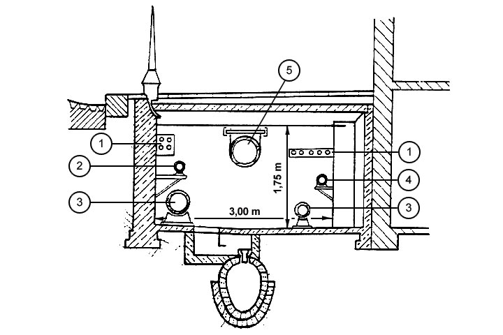
Hierbei handelt es sich um eine geschlossene, langgestreckte, begehbare bauliche Anlage zur zugänglichen Verlegung von Ver- und Entsorgungsleitungen, bestehend aus Leitunggangstrecke sowie Zugangs-, Montage-, Belüftungs-, Abzweig- und Vereinigungsbauwerken (Bild 5.4.4-3) (Bild 5.4.4-4) .
Bild 5.4.4-3:
Querschnittsformen von Leitungsgängen [Quelle: STEIN Ingenieure GmbH] |
Bild 5.4.4-4:
Querschnittsformen von Leitungsgängen [Quelle: STEIN Ingenieure GmbH] |
In der Literatur findet man hierfür die unterschiedlichsten Bezeichnungen, wie Sammelkanal, Werkstollen, Kollektor, Rohrkanal, Ver- und Entsorgungsstollen, Leitungskanal, Leitungstunnel [SIA205] oder Infrastrukturkanal.
Die Idee der zugänglichen und gemeinsamen Verlegung von Leitungen in Leitungsgängen bzw. einem Bauwerk ist nicht neu. In Paris dienen die Abwasserkanäle seit dem vergangenen Jahrhundert gleichzeitig zur Aufnahme der Wasser-, Druckluft- und Kabelleitungen (Bild 5.4.4-5) [Frühl10] [Hobre90] . Diese sind im oberen "auch bei Regenfluten freibleibenden Teil" [Hobre90] der grundsätzlich begehbar gestalteten Querschnitte untergebracht. Die Hausanschlüsse wurden in einem sogenannten Gangkanal verlegt, so daß Aufgrabungen bei ihrer Verlegung oder Instandhaltung nicht nötig wurden (Bild 5.4.4-6) .
Bild 5.4.4-5:
Abwasserkanal mit Versorgungsleitungen in Paris (19. Jahrhundert) [Frühl10] - Unterbringung der Versorgungsleitungen im oberen Teil des Kanals |
Bild 5.4.4-6:
Abwasserkanal mit Versorgungsleitungen in Paris (19. Jahrhundert) [Frühl10] - Verlegung der Hausanschlüsse in einem begehbaren Gangkanal |
Die ersten begehbaren Leitungsgänge wurden bereits im vergangenen Jahrhundert in London (1869) und Hamburg [Hobre90] [Roepe93] (Bild 5.4.4-7) (Bild 5.4.4-8) errichtet. Die Begründung gab Frühling im Jahre 1910 [Frühl10] : "In der englischen Hauptstadt liegen insofern besondere Verhältnisse vor, als nicht allein der Verkehr beständig wächst, sondern auch die Versorgungsnetze im Besitz verschiedener Gesellschaften sind, denen - und zwar jeder für sich - vom Parlament das Recht verliehen ist, auch ohne behördliche Erlaubnis das Pflaster für ihre Zwecke aufzubrechen. Anlagen, welche die hiermit verbundenen Verkehrsstörungen beseitigen, sind deshalb in London mehr als anderswo am Platze."
Weite Verbreitung fanden Leitungsgänge in der ehemaligen DDR und der Sowjetunion, wo mehrere hundert Kilometer in standardisierten Bauweisen errichtet wurden. Aus jüngster Zeit sind vor allem Großprojekte in Taipeh und Prag zu nennen, wo damit begonnen wurde, die leitungsgebundene Infrastruktur ganzer Stadtteile mit einem Leitungsgang-System zu erneuern. In Zürich wurde 1991 eine der modernsten Anlagen dieser Art in Betrieb genommen (Bild 5.4.4-9) (Bild 5.4.4-10) (Bild 5.4.4-11) . In Westdeutschland sind Leitungsgänge bisher vor allem im nichtöffentlichen Bereich angewendet worden. Als Beispiele sind u.a. die Universitäten von Bochum und Dortmund und die Universitätsklinik in Heidelberg, aber auch Kläranlagen, Messegelände etc. zu nennen.
Bild 5.4.4-9:
Leitungsgang in der Löwenstraße der Stadt Zürich [Heier90] - Anordnung des Leitungsganges im Straßenquerschnitt |
Bild 5.4.4-10:
Leitungsgang in der Löwenstraße der Stadt Zürich (Tiefbauamt der Stadt Zürich) [Heier90] [Quelle: STEIN Ingenieure GmbH] - Querschnitt |
Bild 5.4.4-11:
Leitungsgang in der Löwenstraße der Stadt Zürich [Heier90] - Innenansicht [Stein97c] |
Mit der konsequenten Durchsetzung des Konzeptes des Leitungsganges sind u.a. folgende Vorteile gegenüber der derzeitigen Situation verknüpft [Stein90c] [Stein94a] :
- Im Zuge einer Baumaßnahme werden alle im Straßenquerschnitt verlegten Leitungen und Kanäle ressourcen und umweltschonend erneuert.
- Für alle Leitungen wird die Forderung nach instandhaltungsgerechtem Bauen realisiert, so daß Schäden oder Störungen einzelner Systeme auch von außen rechtzeitig erkannt und zukünftig erhebliche volkswirtschaftliche Folgekosten eingespart werden können. Dies betrifft nicht nur die Kosten für Schadensbehebungen sondern insbesondere für die bisher in vielen Fällen vernachlässigte Inspektion, die in Zukunft einen viel höheren Stellenwert erhalten wird (Abschnitt 4.1) .
- Der Leitungsgang bildet eine auf statische Beanspruchungen ausgelegte dichte Schutzhülle. Umweltgefährdungen z.B. durch schadhafte Kanäle in Form von exfiltrierendem Abwasser sind damit ebenso ausgeschlossen wie die Gefährdung der Standsicherheit benachbarter Bauwerke und insbesondere der Kanäle selbst durch infiltrierendes Grundwasser.
- Schäden an Rohrleitungen, verursacht durch Frost, Setzungen, Punkt- und Linienlasten, Unterspülungen, Außenkorrosion, Bauarbeiten an benachbarten oder kreuzenden Leitungen etc. werden vermieden.
- Bäume und Bewuchs haben in innerstädtischen Straßen wieder genügend Raum und Platz, ohne Ver- und Entsorgungsleitungen zu schädigen bzw. durch deren Verlegung, Betrieb und Instandhaltung selbst geschädigt zu werden (Abschnitt 1.12) . Wohnkomfort und Stadtklima werden dadurch positiv beeinflußt.
- Durch Verhinderung von Medienverlusten und Reduzierung des Stoff- und Energieaufwandes für alle Bau- und Instandhaltungsmaßnahmen während des Nutzungszeitraumes stellt der Leitungsgang eine ressourcenschonende Erschließungslösung dar.
- Bei Herstellung des Leitungsganges in geschlossener Bauweise in einem zweiten Horizont unterhalb der vorhandenen Leitungen können diese bis zur Fertigstellung des neuen Systems in Betrieb bleiben. Damit werden Ver- und Entsorgungsengpässe minimiert.
- Humanisierung des Arbeitsplatzes (bequemer Zutritt) sowie Unabhängigkeit der Wartungsarbeiten an den Systemen von Witterungsbedingungen und/oder Vegetationsperioden.
- Bei zukunftsorientierter Auslegung ist eine problemlose Aufnahme weiterer, zum Teil heute noch unbekannter Ver- und Entsorgungsleitungen oder die Anpassung vorhandener Netze an steigende bzw. sich ändernde Bedürfnisse im Rahmen der Abnehmerentwicklung und des ökologischen Umbaus einer Stadt problemlos und ohne Beeinträchtigung von Boden, Grundwasser, Vegetation und Lokalklima möglich.
Der letztgenannte Vorteil des begehbaren Leitungsgangs wird in Zukunft eine große Bedeutung erlangen, da neben der Schadensbehebung bzw. Sanierung bestehender schadhafter oder überalterter Leitungen und Leitungssysteme für diese innerstädtische Infrastruktur zusehends ein neuer und vielleicht noch wichtigerer Problembereich entsteht. Dieser resultiert aus dem ständigen Wandel und der Entwicklung der Gesellschaft, die zu veränderten Anforderungen an die städtischen Ver- und Entsorgungsnetze führen.
Als Beispiele aus der jüngsten Vergangenheit und der nahen Zukunft können hierfür angeführt werden [Stein97d] [WBGU97] [Stein97k] :
- die Entwicklung der Glasfasertechnik mit Lichtwellenleitern, welche die elektrischen Leiter zur Datenübertragung ablösen,
- die Aufhebung der Monopolstellung der TELEKOM, die es auch anderen Gesellschaften erlaubt, Telekommunikationsdienste anzubieten,
- zukünftige Entwicklungen der Datenfernübertragung (Internet, digitales Fernsehen, usw.), deren Auswirkungen auf notwendige Verkabelungsmaßnahmen noch nicht abzusehen sind,
- die Änderung der Werkstoffe für Gasleitungen hin zum Kunststoff mit der Forderung, alte, schadstoffbelastete Gußrohrleitungen aus dem Erdboden zu entfernen,
- die Umstellung der emissionsträchtigen Heizöl- und Kohleeinzelfeuerungen der Gebäudeheizungen auf leitungsgebundene Energiesysteme, z.B. Erdgas- oder Fernwärme,
- die Umwidmung großer Flächen von industrieller hin zur Wohn- und Dienstleistungsnutzung, die mit anderen Kapazitätsanforderungen an die leitungsgebundene Infrastruktur einhergeht,
- die Versickerung oder Nutzung von Regenwasser, wodurch die Abflußquerschnitte der Kanalisationen hydraulisch nur noch ungenügend ausgelastet werden,
- Schaffung getrennter Wasserkreisläufe für Trink- und Brauchwasser, da nur ca. 2 % des Wasserverbrauchs im privaten Bereich zum Trinken und Kochen benötigt werden, wohingegen über 30 % für die Toilettenspülung verwendet werden [WBGU97] ,
- das veränderte Verhalten der Verbraucher, z.B. Einsparung von elektrischer Energie oder Trinkwasser,
- Transport von Stückgütern durch Rohrleitungen zur Entlastung oberirdischer Verkehrswege sowie
- Absaugung und Ableitung schadstoffbelasteter Luft von innerstädtischen Verkehrswegen [Stein97j] .
Auf diese und andere heute noch nicht absehbaren Entwicklungen kann aufgrund der gängigen Verlegepraxis nur schwer oder gar nicht reagiert werden, da ein kurzfristiger Zugriff auf die Leitungen nicht möglich und auch nicht finanzierbar ist.
In Erkenntnis der Zusammenhänge zwischen den Leitungsnetzen und sich verändernden Verbrauchsstrukturen sind nachhaltige Systeme gefragt, welche die Anforderungen der Gegenwart erfüllen, ohne die Möglichkeiten zukünftiger Generationen einzuschränken und sie zu zwingen, immer wieder neue Netze zu bauen.Sie müssen es den Ver- und Entsorgungsunternehmen ermöglichen,
- ihre Netze entsprechend den Kundenbedürfnissen schnell und kostengünstig dem Bedarf anzupassen,
- einfach auf technische Neuentwicklungen reagieren und
- neue Leitungen in das Gesamtsystem integrieren zu können.
Die Möglichkeit der Übertragung des Konzeptes des Leitungsganges, der alle diese Anforderungen ideal erfüllt, auf die Leitungserneuerung in innerstädtischen Bereichen wurde bisher negiert, insbesondere aufgrund befürchteter erheblicher technischer, verwaltungstechnischer und rechtlicher Schwierigkeiten. Auch herrscht die Auffassung, daß ein Leitungsgang niemals die erheblichen finanziellen Mehraufwendungen, die die Errichtung einer zusätzlichen baulichen Hülle mit sich bringt, "erwirtschaften" kann.
Technische Probleme bei Bau und Betrieb begehbarer Leitungsgänge können nach [Stein97d] [Stein97c] [Klemm97] [Girna68b] [GSTT6] als ausgeräumt betrachtet werden. Eine Vielzahl von Anlagen wird seit Jahren privatwirtschaftlich betrieben, ohne daß gravierende Mängel aufgetreten sind; bedeutende Schadensfälle sind nicht bekannt.
Das eigentliche Hindernis für die breite Anwendung von Leitungsgängen ist in der Struktur der öffentlichen Ver- und Entsorgung zu sehen. Die Abwasserentsorgung ist Aufgabe der jeweiligen Kommune bzw. ihrer Entsorgungsbetriebe, die Versorgung liegt i.a. in Händen von verschiedenen Versorgungsunternehmen und wird durch Konzessionsverträge geregelt. Die finanziellen Interessen der Ver- und Entsorger sind auf ihr jeweiliges Medium fixiert, so daß Systeme, wie der Leitungsgang, die ein Zusammenwirken der Unternehmen bedingen, i.a. nicht in Betracht gezogen werden. Darüber hinaus scheut man sich, Mittel für eine notwendige Vorfinanzierung bereitzustellen, obwohl ökonomische Betrachtungen, über einen langen Beobachtungszeitraum angestellt, gezeigt haben, daß sich der Bau von Leitungsgängen auszahlen kann. Dies bestätigen auch die in [Stein97c] [Klemm97] untersuchten Modellprojekte in der Stadt Herne in Nordrhein-Westfalen. Während im Modellprojekt "Hauptstraße" vorhandene Leitungen zu sanieren bzw. zu erneuern sind, soll im Modellprojekt "Gewerbepark Hibernia" das Areal im Zuge einer Revitalisierung nach ökologischen Gesichtspunkten neu erschlossen werden.
Bild 5.4.4-12:
Vergleich der Projektkostenbarwerte für das Gewerbegebiet Hibernia [Stein97c] |
Bild 5.4.4-13:
Vergleich der Projektkostenbarwerte für den Bauabschnitt 5 - Hauptstraße (Herne) [Stein97c] |
Die (Bild 5.4.4-12) und (Bild 5.4.4-13) zeigen die Entwicklung der akkumulierten Projektkostenbarwerte für ausgewählte finanzmathematische Varianten. Dabei ist ersichtlich, daß die Projektrangfolge zwischen Erdverlegung der Leitungen und Bau eines Leitungsganges mit Montage der Leitungen in Abhängigkeit der Zeit wechselt. Als Grundlage der Berechnungen erfolgten detaillierte, standortspezifische Kalkulationen der Investitions- und laufenden Kosten unter Beachtung allgemeiner Instandhaltungszyklen für Leitungen und Leitungsgang. Unter Berücksichtigung und Abwägung aller kostenbeeinflussender Faktoren sowie finanzmathematischer Gewichtungen zeigen die Beispiele Kosten - Nutzen - Zeiträume auf, die im Bereich der Sanierungszyklen der Einzelleitungen möglich sind. Dabei wurden indirekte bzw. vermindernde Kosten (z.B. vermiedene Leitungsschäden, Verkehrsbeeinträchtigungen u.a. indirekte Kosten (Abschnitt 5.6.1) ), die den Wirtschaftlichkeitsvergleich für den Leitungsgang noch positiver ausfallen lassen, nicht berücksichtigt. Dieses Ergebnis sollte Anlaß für die Ver- und Entsorgungsunternehmen sein, sich von der ausschließlichen Betrachtung eigener Kosten zu trennen und die Aufgabe der Ver- und Entsorgung der Bevölkerung als eine Gemeinschaftsaufgabe zu betrachten, die ein enges Zusammenwirken der Unternehmen bedingt.
Die o. a. Beispieluntersuchungen haben gezeigt, daß sich Leitungsgänge dort zweckmäßig einsetzen lassen, wo ihre vielen Vorteile möglichst umfassend zur Geltung kommen. Solche Anwendungsfälle sind aus heutiger Sicht [Stein90c] [Stein94a] :
- Umgestaltung von Stadtzentren und versorgungstechnisch bedingte Erneuerung einzelner oder aller erdverlegter Leitungssysteme im innerstädtischen Bereich (Stadtzentrum und Bereich kompakter Bebauung)
zur Erhaltung der Funktionssicherheit unter Beibehaltung oder Erhöhung der Kapazität. Bereits die partielle Erneuerung tiefliegender Leitungen (insbesondere Kanäle) kann zu gravierenden Eingriffen in den Straßenquerschnitt führen und eine vorzeitige Erneuerung aller Leitungen mit Umverlegung in einen Leitungsgang rechtfertigen. Gleiches gilt im Fall von Erweiterungen, Neuverlegungen oder bei der Netzumgestaltung.Bei Herstellung des Leitungsganges in geschlossener Bauweise unterhalb der vorhandenen Leitungen können diese bis zur Fertigstellung des neuen Systems in Betrieb bleiben. - Neuerschließung und Umgestaltung von Industrie- und Gewerbegebieten
mit spezifischer Nutzung, z.B. Flughäfen, Messegelände, Güterverkehrszentren, Hafengelände, Universitäten, Medizinische Zentren etc., für die eine extrem hohe Versorgungssicherheit und/oder ein hoher Versorgungskomfort bzw. eine Anpassung an nutzungsbedingte wechselnde Leitungsanforderungen mit geringem Aufwand verlangt wird. - Umgestaltung der Anlagen des Verkehrs
Neuplanung von Straßen, Änderung der Trassenführung und Umgestaltungen im Gleisbereich städtischer Nahverkehrsmittel stellen Maßnahmen dar, welche die Erneuerung von Leitungsnetzen auslösen können. Leitungsgänge sind in diesem Zusammenhang an hochbelasteten Knotenpunkten zur ringförmigen Abfangung kreuzender Haupttrassen und Schaffung von Vorbehaltsräumen für spätere Verkehrsbauten vorzusehen. Als Kreuzungsbauwerke können Leitungsgänge zur Unterführung gebündelter Trassen unter starkbelegten Hauptstraßen dienen. Gemeinsame Zwangspunkte der Verkehrs- und Leitungstrasse, wie Brücken, Bahnunterführungen oder Gleisanlagen können durch Leitungsgänge störungsfrei ausgebildet werden. Bei Straßenverbreiterungen, Umgestaltung von Gleisanlagen und Durchbrüchen zur Hauptnetzverbesserung können sie zum Freihalten der Fahrbahnbereiche von Leitungen, bei begrenzter Gehbahn- und Freiflächenbreite oder bei hoher zeitlicher Begrenzung der Verkehrsbaumaßnahmen zweckmäßig angewandt werden. Der Neubau unterirdischer Verkehrsanlagen kann zum Bau über- oder unterquerender bzw. umgehender Leitungsgangstrecken an Konfliktstellen zwingen, wenn Leitungsumlegungen generell notwendig sind. Gleichfalls ist die Integration des Leitungsganges in vorhandene oder geplante unterirdische Bauwerke (z.B. Tiefgaragen, U-Bahn, Straßentunnel) denkbar. - Neubau bzw. Umgestaltung von Wohngebieten
Bei einer kompakten Wohnbebauung mit entsprechenden Anforderungen an die Ver- und Entsorgungssicherheit kann der Leitungsgang auf Haupterschließungstrecken eingesetzt werden.
