Auskleidung mit vorgefertigten Kurzrohren
Schachtauskleidung mit vorgefertigtem GFK-Rohr [NASSCO85a]
Zur Schachtauskleidung mit vorgefertigten Rohren (Abschnitt 5.3.2.2.2) werden i.a. Rohre aus Kunststoffen (Abschnitt 1.7.4) , Polymerbeton (Abschnitt 1.7.8) , Faserzement (Abschnitt 1.7.9) oder Beton- und Stahlbeton mit integriertem Korrosionsschutz (Abschnitt 1.7.7.3) verwendet.
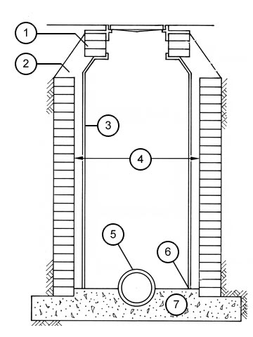
Der Ablauf einer solchen Sanierungsmaßnahme gestaltet sich wie folgt (Bild 5.3.3.1-1) [NASSCO85a] :
- Entfernen der Schachtabdeckung und des Schachthalses sowie der Steigeisen und evtl. einragender Leitungen.
- Anpassen des Inlinerendes an den Schachtboden bzw. Auftritt und an die einmündenden Leitungen in diesem Bereich. Für im oberen Schachtbereich evtl. vorhandene Leitungseinmündungen werden die entsprechenden Öffnungen im Inliner ebenfalls vorab hergestellt.
- Absetzen des Inliners in einen schnellhärtenden Mörtel am Schachtboden. Zur Gewährleistung eines dichten Anschlusses für die eigentliche Verfüllung des Ringraumes wird dieser zunächst auf einer Höhe von ca. 15 cm mit dem gleichen Mörtel verfüllt. Die einmündenden Rohrleitungen im Schachtbereich werden mittels kurzer Rohrstücke aus Steinzeug, Kunststoff oder anderen korrosionsbeständigen Werkstoffen bis zum Inliner verlängert und die Anschlußbereiche abgedichtet.
- Verfüllen des Ringraumes (Abschnitt 5.3.2.2.1) .
- Aufsetzen des Schachthalses sowie der Abdeckung, Einbau der Steigeisen und Wiederherstellung des Straßenbereiches.
Falls erforderlich, kann der Inliner auch der Form des Schachthalses angepaßt werden.
Fertigschachtteil aus Polymer-Beton [FI-Meyerb]
Der Inliner ist für alle auftretenden Lasten zu bemessen, wobei für eine notwendige Sicherung gegen Auftrieb besondere Vorkehrungen zu treffen sind [Biele87a] .
Neben serienmäßig gefertigten Rohren können auch spezielle, fugenlos aus Polymerbeton hergestellte, modifizierte Fertigschächte mit geringfügig kleinerem Durchmesser als der des zu sanierenden Schachtes mit integrierter Sohlenplatte eingesetzt werden (Bild 5.3.3.1-2) [FI-Meyerb] [FI-AcoSe] . In diesem Fall ist die Entfernung von Schachthals, Auftritt und Gerinne sowie u.U. der Sohlenplatte notwendig (Abschnitt 1.8) . Die Schächte sind in den gängigen Innendurchmessern in Längen bis zu 5 m mit korrosionsgeschützter Abdeckplatte, entsprechenden Auflageringen und Schachtabdeckungen lieferbar. Nach Herstellung der Rohranschlüsse mit Hilfe handelsüblicher gelenkiger Anschlußelemente und Einbau von Paßstücken zur Überbrückung des Ringraumes wird dieser mit Porenleichtbeton verfüllt.
