Wasserversorgungssysteme
Beispiel eines Wasserverteilungssystems [DINEN805]
Wasserversorgungssysteme dienen zur zuverlässigen und sicheren Trinkwasserversorgung der Gesellschaft sowie zur Wasserversorgung für Handel, Gewerbe, Industrie, Landwirtschaft und zur Löschwasserversorgung bei der Brandbekämpfung.
Die eigentliche Verteilung des Wassers an die Verbraucher übernimmt dabei das Wasserverteilungssystem, bestehend aus Rohrleitungen (Wasserleitungen), Wasserbehältern, Förderanlagen und sonstigen Einrichtungen.
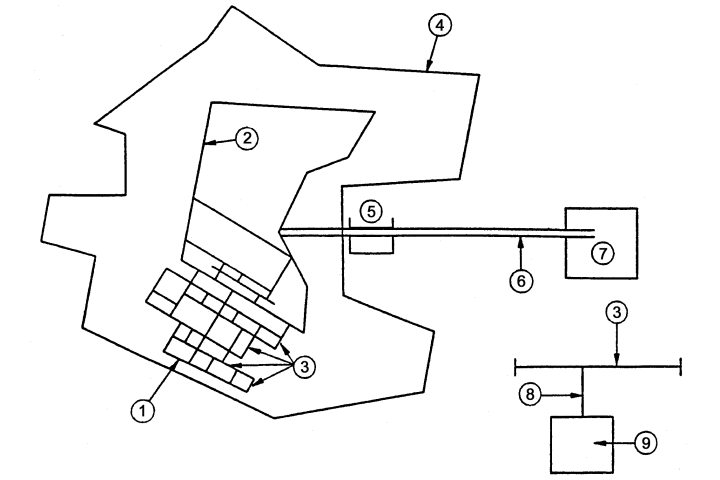
Das Wasserverteilungssystem beginnt nach DIN EN 805 [DINEN805] nach "der Wasseraufbereitungsanlage oder, wenn keine Aufbereitung erfolgt, nach der Wassergewinnung und endet an der Übergabestelle zum Verbraucher" (Bild 6.2.2.2-1).
Wichtigster Bestandteil eines Wasserverteilungssystems ist das Rohrnetz, nach DIN 4046 [DIN4046] ein "überwiegend unterirdisches System verzweigter und vermaschter Zubringer-, Haupt-, Versorgungs- und Anschlussleitungen".
Die Definitionen für die o.a. Leitungsarten liefert DIN EN 805 [DINEN805].
Zubringerleitung: Wasserleitung, welche Wassergewinnung(en), Wasseraufbereitungsanlage(n), Wasserbehälter und/oder Versorgungsgebiet(e) verbindet, üblicherweise ohne direkte Verbindung zum Verbraucher [DINEN805]. Nach [Kittn] werden Zubringerleitungen häufig auch als Transportleitungen bezeichnet.
Hauptleitung: Wasserleitung mit Hauptverteilfunktion innerhalb eines Versorgungsgebietes, üblicherweise ohne direkte Verbindung zum Verbraucher [DINEN805]. Hauptleitungen sind nur in größeren Rohrnetzen erforderlich [Kittn].
Versorgungsleitung: Wasserleitung, welche die Hauptleitung mit der Anschlussleitung verbindet. Versorgungsleitungen bilden das eigentliche Versorgungsnetz [Kittn].
Anschlussleitung: Wasserleitung, welche das Wasser von der Versorgungsleitung zum Verbraucher liefert [DINEN805]. Die Anschlussleitung wird auch als Hausanschluss oder Hausanschlussleitung bezeichnet.
Darüber hinaus unterscheidet DIN 4046 [DIN4046] noch:
- Verbundleitungen: Rohrleitungen zur Verbindung mehrerer zentraler Wasserversorgungen, auch zur Notwasserversorgung [DIN4046].
- Fernleitungen: Zubringerleitungen über große Entfernungen [DIN4046]. Nach [Kittn] ist es "üblich, ab 30 km Länge von Fernwasserleitungen zu sprechen. Dabei handelt es sich überwiegend um die Überleitung von Wasser aus anderen Einzugsgebieten".
Bezüglich der Ausbildung der Rohrnetze für die Wasserverteilung unterscheidet man zwischen folgenden Netz Varianten (Tabelle 6.2.2.2-1) :
-
Verästelungsnetz: Rohrnetz aus sich verzweigenden Strängen, die miteinander keine weiteren Verbindungen haben [DIN4046].
Beim Verästelungsnetz, auch Strahlennetz genannt, zweigen alle Versorgungsleitungen von der Hauptleitung ab. Das System ist in seiner Betriebsweise gut überschaubar und die Rohrleitungen lassen sich einfach dimensionieren. Bei Störungen kann die Versorgungssicherheit des hinter der Störstelle liegenden Versorgungsgebietes nicht gewährleistet werden.
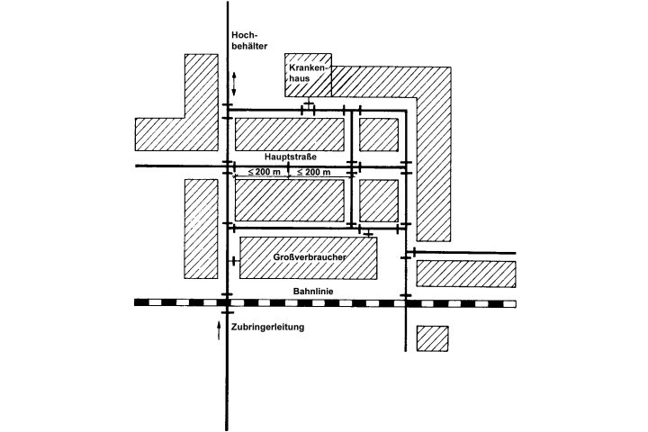
Die einfachste Form des Verästelungsnetzes ist das sogenannte Liniennetz, bei dem sich von einer Versorgungsleitung relativ kurze Anschlussleitungen zu den Verbrauchern anschließen (Bild 6.2.2.2-1) (Bild 6.2.2.2-2). - Vermaschte Netze: Vermaschte Netze, auch Maschennetze genannt, entstehen durch Verbinden der Leitungen eines Verästelungsnetzes [DVGWMW403]. Man unterscheidet zwischen Ringnetz und vernaschtem Ringnetz.
Netzformen [DVGWMW403]
| Netzform |
Baukosten |
Verweilzeiten |
Versorgungs- sicherheit |
Leistungs- reserven |
|---|---|---|---|---|
| Verästelungsnetz |
Geringe Baukosten | Zwangsdurch- strömung in einer Richtung. Lange Verweilzeiten in zu groß bemessenen Endleitungen möglich. |
Geringe Versorgungs- sicherheit, da jeder Verbraucher nur über eine Leitung versorgt werden kann. |
Sehr begrenzte Leistungsreserven |
| Ringnetz |
Die Baukosten sind höher als beim Verästelungsnetz | Lange Verweilzeiten sind nicht zu erwarten. | Hohe Versorgungs- sicherheit, da jeder Punkt der Hauptleitung auf zwei Wegen erreicht werden kann. |
Leistungsreserven sind durch die Ringbildung sichergestellt. Löschwasser- bereitstellung ist einfacher. |
| Vermaschtes Ringnetz |
Hohe Baukosten | In Teilbereichen können niedrige Fließgeschwindig- keiten bzw. lange Verweilzeiten auftreten. |
Sehr hohe Versorgungs- sicherheit, Versorgungsunter- brechungen sind räumlich begrenzt. |
Hohe Leistungsreserven; gute Verfügbarkeit von Löschwasser. |
In (Tabelle 6.2.2.2-1) sind die einzelnen Netzformen mit allgemeinen Angaben bezüglich der Baukosten, Verweilzeiten, Versorgungssicherheit und Leistungsreserven dargestellt.
Beispiele für die Anwendung dieser Netzformen in einem Versorgungsgebiet enthalten (Bild 6.2.2.2-2), (Bild 6.2.2.2-3) und (Bild 6.2.2.2-4).
|
Bild 6.2.2.2-2:
Arten von Leitungsnetzen [Kittn] - Verästelungsnetz |
Bild 6.2.2.2-3:
Arten von Leitungsnetzen [Kittn] - Ringnetz |
Bild 6.2.2.2-4:
Arten von Leitungsnetzen [Kittn] - Vermaschtes Ringnetz |
Aus wirtschaftlichen Gründen weisen Rohrnetze in einem Versorgungsgebiet oftmals alle drei Rohrnetzformen auf.
Nach DVGW-Arbeitsblatt W 403 [DVGWMW403] sollen Verästelungsnetze allenfalls als Ausbaustufe geplant werden, im Endzustand sind Vermaschungen anzustreben.
In Ballungsräumen sind um die Versorgungsschwerpunkte geführte Ringleitungen von großem Vorteil.
Im Falle von Netzerweiterungen bzw. Leitungserneuerungen bieten die vermaschten Netze gegenüber den Verästelungsnetzen den Vorteil, dass die Anzahl der Verbraucher, die von einer Absperrung betroffen sind und mit einer Notversorgung bedient werden müssen, erheblich verringert wird. In diesem Fall muss unter Umständen jedoch, bedingt durch die Umkehr der Fließrichtung, mit Trübungen des Trinkwassers gerechnet werden.
Bei Wasserverteilungssystemen können nach DIN EN 805 [DINEN805] drei Betriebsarten zur Anwendung kommen.
Schwerkraftsystem, in dem der Durchfluss und/oder Druck durch die Schwerkraft erzeugt werden.
Man unterscheidet:
- Drucksystem, in dem die Rohrleitungen vollgefüllt betrieben werden.
- System ohne Druck, in dem die Rohrleitungen teilgefüllt betrieben werden (Anmerkung: nachfolgend auch als Freispiegelsystem bezeichnet (Abschnitt 1.1.4.1)).
Pumpsystem, in dem der Durchfluss und/oder Druck mit einer oder mehreren Pumpen erzeugt werden.
Pump- und Schwerkraftsystem, in dem das Schwerkraft- und Pumpsystem entweder einzeln oder kombiniert genutzt werden, um den Durchfluss und/oder Druck sicherzustellen.
Drucksysteme müssen nach DIN 1988 Teil 2 [DIN1988-2] für einen zulässigen Betriebsdruck von 10 bar bemessen sein, soweit nicht höhere Betriebsdrücke zu berücksichtigen sind.
Die Rohrleitungsteile müssen so ausgelegt sein, dass sie im verlegten Zustand einem zeitweiligen Unterdruck von 0,8 bar widerstehen. Die höchste zulässige Langzeitverformung darf 8% nicht überschreiten [DINEN805].
Für die statische Bemessung der Rohrleitungen und Rohrleitungsteile sind im Hinblick auf einen sicheren und zuverlässigen Betrieb die folgenden maßgeblichen Faktoren sowie die Anforderungen zu berücksichtigen:
- maximale und minimale Betriebstemperaturen und temperaturbedingte Belastungen
- Auswirkungen auf Werkstoffeigenschaften infolge Dauerbelastung (z.B. Kriechen und Materialermüdung aufgrund statischer Belastung)
- Auswirkungen auf die Materialeigenschaften infolge dynamischer Belastung (Materialermüdung aufgrund dynamischer Belastung)
- Auswirkungen möglicher Gefahren, wie z. B. Bodenbewegungen und/oder Erdbeben
Der Nennweitenbereich vorgefertigter Rohre für alle Rohrleitungen in Wasserverteilungssystemen wird in DIN EN 805 [DINEN805] durch die beiden folgenden Serien vorgegeben, die nach dem 31. Dezember 2003 verbindlich sind. Eine Serie bezieht sich auf den Innendurchmesser (DN/ID), die andere auf den Außendurchmesser (DN/OD). Die Produktnormen müssen angeben, auf welche Serie sie sich beziehen:
- DN/ID: 20, 30, 40, 50, 65, 80, 100, 125, 150, 200, 250, 300, 350, 400, 450, 500, 600, 700, 800, 900, 1000, 1100, 1200, 1250, 1300, 1400, 1500, 1600, 1800, 2000, 2100, 2200, 2400, 2500, 2600, 2800, 3000, 3200, 3500, 4000.
- DN/OD: 25, 32, 40, 50, 63, 75, 90, 110, 125, 160, 180, 200, 225, 250, 280, 315, 355, 400, 450, 500, 630, 710, 800, 900, 1000, 1100, 1200, 1250, 1300, 1400, 1500, 1600, 1800, 2000, 2100, 2200, 2400, 2500, 2600, 2800, 3000, 3200, 3500, 4000.
Die in DIN EN 805 [DINEN805] angeführten Nennweiten weichen teilweise von den in DIN EN ISO 6708 [DINENISO6708] angegebenen DN-Stufen für Rohrleitungsteile ab.
Die in DIN EN 805 [DINEN805] nicht erfassten Nennweiten DN 3, 4, 5, 6, 8, 10, 12, 15 und 16 regelt DIN 2402 [DIN2402].
Die Nennweite DN/ID oder DN/OD ist eine "ganzzahlige numerische Bezeichnung für den Durchmesser eines Rohrleitungsteiles, die annähernd dem tatsächlichen Durchmesser in mm entspricht. Sie bezieht sich entweder auf den Innendurchmesser (DN/ID) oder auf den Außendurchmesser (DN/OD)" [DINEN805].
Den Außendurchmesser (OD) definiert DIN EN 805 [DINEN805] als "mittleren Außendurchmesser des Rohrschaftes in jedem beliebigen Querschnitt. Für Rohre mit profilierter Außenseite gilt der maximale projizierte Außendurchmesser einschließlich der Profile".
Unter Innendurchmesser (ID) versteht DIN EN 805 [DINEN805] den "mittleren Innendurchmesser des Rohrschaftes in jedem beliebigen Querschnitt".
DIN EN 805 [DINEN805] empfiehlt für die Versorgung kleiner Wohngebiete die in (Tabelle 6.2.2.2-3) dargestellten Mindestnennweiten, die je nach örtlichen Gegebenheiten modifiziert werden können.
Mindestnennweiten der Wasserleitungen für die Versorgung kleiner Wohngebiete [DINEN805]
| DN/ID | Anzahl der Personen |
|---|---|
| 50 1) 80 100 |
30 100 250 |
1) Vorausgesetzt, die Leitung ist nicht länger als etwa 100 m
Insbesondere bei Fernleitungen können größere Nennweiten als DN/ID 4000 erforderlich sein; d.h. hier gibt es im Prinzip keine Obergrenzen bezüglich Durchmessergröße und Querschnittsform.
Rohrleitungen und Rohrleitungsteile für die Wasserversorgung müssen nach DIN EN 805 [DINEN805] so beschaffen sein, dass sie allen Anforderungen für den Gebrauch in Wasserversorgungssystemen entsprechen.
Alle Werkstoffe einschließlich Auskleidungen, Außenbeschichtungen und Dichtungen müssen für die Anwendung in Wasserversorgungssystemen geeignet sein. Sie dürfen bei Kontakt mit Wasser keine unzulässige Beeinträchtigung der Wasserqualität verursachen [DINEN805].
Zulässige Werkstoffe sind:
- Stahl
- duktiles Gusseisen
- Faserzement
- Kunststoffe (PE-HD, PE-LD, PE-X bzw. PVC-U)
- Beton, Stahlbeton und Spannbeton
- GFK
- Polymerbeton (PRC)
- Steinzeug
Entsprechend dem DVGW-Regelwerk erhalten heute alle in der Trinkwasserversorgung eingesetzten Rohre aus metallischen Werkstoffen (Guss- und Stahlrohre) eine Zementmörtelauskleidung als Innenschutz gegen Korrosion (Abschnitt 13.8.2).
Häufig sind, insbesondere im Bereich der Hausanschlüsse bzw. Anschlussleitungen, noch alte Rohrleitungen aus Blei anzutreffen, die aus gesundheitlichen Gründen [Overa01] jedoch sukzessive ausgewechselt oder beschichtet bzw. ausgekleidet werden müssen [DVGWAW343].
Ein Rohrnetz besteht neben dem Rohr noch aus einer Vielzahl von weiteren Rohrleitungsteilen, die zuverlässig und dauerhaft dicht über Formstücke miteinander zu verbinden sind.
Als Formstück bezeichnet man nach DIN EN 805 [DINEN805] ein "Rohrleitungsteil, ausgenommen Rohr, für Abzweigungen, Richtungs- oder Durchmesseränderungen. Dazu gehören auch Flansche/Muffenstücke, Einflanschstücke, Überschiebmuffen/Kupplungen".
Die Ausführung der Formstücke ist vom Rohrwerkstoff abhängig.
Für die überwiegende Anzahl der o.a. Werkstoffe existiert jeweils ein komplettes Formstückprogramm, mit dem alle o. a. Situationen realisiert werden können.
Für Betrieb und Steuerung des Rohrnetzes sind Armaturen einzubauen.
Eine Armatur ist nach DIN EN 805 [DINEN805] ein "Rohrleitungsteil zur Absperrung oder zur Regelung von Durchfluss und Druck; z.B. Absperrarmatur, Regelarmatur, Druckminderventil, Be- und Entlüftungsventil, Rückflussverhinderer, Hydrant".
|
Bild 6.2.2.2-5:
Grundbauarten von Armaturen nach DIN EN 736-1 [DINEN736-1] |
|
Bild 6.2.2.2-6:
Mögliche Anordnung von Absperrarmaturen im Rohrnetz [Kittn] |
Im (Bild 6.2.2.2-5) sind die Grundbauarten von Armaturen nach DIN EN 736-1 [DINEN736-1], eingeteilt nach ihren Konstruktionsmerkmalen dargestellt.
Die Grundbauarten unterscheiden sich durch:
- die Arbeitsbewegung des Abschlusskörpers
- die Strömungsrichtung im Abschlussbereich
Mit Hilfe von Armaturen werden Versorgungsnetze so in Teilstrecken gegliedert, dass bei Rohrreinigung, Rohrbruch, Reparatur oder Erneuerung bzw. Erweiterung möglichst wenige Anlieger von der Rohrabsperrung betroffen sind (Bild 6.2.2.2-6) [DVGWAW332]. Dies bedingt an Abzweigen zwei, an Kreuzungen drei Absperrarmaturen.
Weitere Unterteilungen in absperrbare Strecken sind bei besonders wichtigen Abnehmern und hoher Anschlussdichte notwendig.
Meist wird an den Tiefpunkten der Rohrleitung ein Schieber oder eine Klappe eingebaut, um die beiderseitig ansteigenden Rohrstrecken getrennt entleeren zu können.
Die Funktionen der Armaturen sollten fernsteuerbar bzw. selbstauslösend sein, um im Havariefall eine Absperrang zu ermöglichen.
Diesbezüglich gibt DIN EN 805 [DINEN805] im Anhang A.19 folgende Hinweise:
"Absperrarmaturen sollten auf allen Abzweigungen so nah wie möglich an der durchgehenden Leitung angebracht werden." [...] Es empfiehlt sich, zwischen zwei Streckenabsperrarmaturen Vorrichtungen zur Druckabsenkung, zur Entlüftung und zur Entleerang anzubringen. Bei Hauptleitungen oder Versorgungsleitungen sind für diesen Zweck Hydranten ausreichend.
"Die Abstände und die Lage von Absperrarmaturen sollten entsprechend den örtlichen Gegebenheiten festgelegt werden.
Im allgemeinen sollten die Abstände zwischen Absperrarmaturen folgende Werte nicht überschreiten:
- bei Zubringerleitungen 5 km;
- bei Hauptleitungen 2 km;
- bei Versorgungsleitungen (ländliche Gebiete) 1 km;
- bei Versorgungsleitungen (städtische Gebiete) 0,5 km." [DINEN805]
Die Abstände für Feuerlöschhydranten sind im Einvernehmen mit der Feuerwehr festzulegen [DVGWAW331].
Allgemein soll der Abstand der Hydranten in bebauter Ortslage 80 bis 100 m betragen [Kittn].
Bei der Verlegung von Anschlussleitungen bzw. Hausanschlüssen [DVGWMW404] sind nach DIN EN 805 [DINEN805] an die Lage und Tiefe die gleichen Anforderungen wie an Zubringer-, Haupt-und Versorgungsleitungen zu stellen, d.h. u.a., dass die Rohre in frostfreier Tiefe mit einem empfohlenen Mindestgefälle von 1/500 zu verlegen sind. Darüber hinaus sind die Anschlussleitungen zwischen der Versorgungsleitung und den Gebäuden möglichst geradlinig und so kurz wie möglich zu planen.
|
Bild 6.2.2.2-7:
Ventilanbohrschelle [Damra98] |
|
Bild 6.2.2.2-8:
Anschlussmöglichkeiten einer Anschlussleitung in Anlehnung an [Kittn] [Quelle: STEIN Ingenieure GmbH] |
Die von den Versorgungsleitungen zu den einzelnen Verbrauchern führenden Anschlussleitungen werden entweder durch Formstücke (DN/ID der Anschlussleitung > 50) oder durch Anbohrung (DN/ID der Anschlussleitung ≤ 50) angeschlossen.
Wird der Anschluss nachträglich ohne Betriebsunterbrechung, d.h. unter Druck der Versorgungsleitung hergestellt, verwendet man beim Anbohren von Guss-, Stahl-, Kunststoff- und Faserzementrohren die sogenannte Anbohrschelle, welche Anschlussorgan und Absperrarmatur in sich vereint und eine obere oder seitliche Anbohrung erlaubt (Bild 6.2.2.2-7).
Für Absperrzwecke ist eine Absperrarmatur und/oder eine Anbohrarmatur mit Betriebsabsperrung vorzusehen [DINEN805], die geeignet ist, den Wasserdurchfluss zur Anschlussleitung zu unterbrechen (Bild 6.2.2.2-8).
Die Anbohrarmatur ist nach DIN 3543 [Damra98] [DIN3543-1] [DIN3543-2] [DIN3543-3] [DIN3543-4] in Abhängigkeit vom Werkstoff der Versorgungsleitung zu wählen.
Anschlussleitungen müssen nach DVGW-Merkblatt W 404 [DVGWMW404] "zugänglich sein und sollten nicht überbaut werden. Das Lagern von Schuttgütern, Baustoffen usw. sowie das Pflanzen von Bäumen über Anschlussleitungen ist unzulässig, wenn hierdurch die Betriebssicherheit, die Überwachung oder Instandhaltung der Anschlussleitung beeinträchtigt werden. Müssen Anschlussleitungen ausnahmsweise unter Gebäudeteilen (z.B. Wintergärten, Garagen, Terrassen, Treppen) oder durch Hohlräume geführt werden, so sind sie in diesem Bereich in Mantelrohren (Anmerkung: Schutzrohre) zu verlegen".
