Abschlußarbeiten und -prüfungen
Bezüglich der Abschlußarbeiten - Schachtanbindung, Anpassung des Inliners an das Schachtgerinne und Wiederherstellung der Einbindung von Anschlußkanälen - und Prüfungen gelten prinzipiell die Ausführungen der (Abschnitt 5.3.2.2.1) und (Abschnitt 5.3.2.5) .
Beim Kurzrohrverfahren mit einzeln eingebrachten Rohren im nichtbegehbaren Nennweitenbereich bietet sich noch eine spezielle Variante zur Wiederherstellung der Einbindung von Anschlußkanälen an. Sie basiert auf der Möglichkeit, den Einbindungsbereich vor Ort mittels Kanalfernsehkamera oder eines Packers mit einer Spezialbeschichtung zur örtlichen Abnahme eines Abdruckes der Einbindungsöffnung hinsichtlich Lage, Entfernung und Form exakt einzumessen, die Maße auf das in diesem Bereich zu liegen kommende Kurzrohr zu übertragen und die entsprechende Anschlußöffnung vor dem Einbringen einzuarbeiten [FI-Drain] . Das so präparierte Rohr wird entweder eingezogen, eingeschoben oder eingefahren.
Für das Einbringen wurde ein spezieller, ferngesteuerter Installationswagen entwickelt [FI-Wiik] [FI-RST] , der sich dadurch auszeichnet, daß er das mit einer Spannvorrichtung gehaltene Kurzrohr stufenlos heben und senken sowie nach rechts und links drehen kann (Bild 5.3.2.2.2.7-1) (Bild 5.3.2.2.2.7-2) (Bild 5.3.2.2.2.7-3) .
Bild 5.3.2.2.2.7-1:
Kurzrohrverfahren: Einbindung von Anschlüssen an den Inliner [FI-Wiik] - Kurzrohre mit Abzweigöffnung und aufgelegter Dichtungsmanschette |
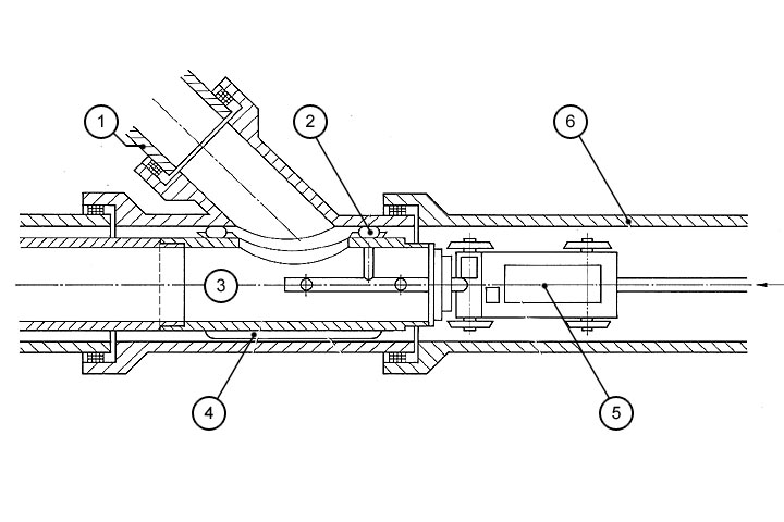
Bild 5.3.2.2.2.7-2:
Kurzrohrverfahren: Einbindung von Anschlüssen an den Inliner [FI-Wiik] - Installationswagen mit aufgenommenem Kurzrohr |
Bild 5.3.2.2.2.7-3:
Kurzrohrverfahren: Einbindung von Anschlüssen an den Inliner [FI-Wiik] - Einbringen und Ausrichten des Kurzrohres |
Der Außendurchmesser der für den nichtbegehbaren Nennweitenbereich eingesetzten Kurzrohre kann überschlägig und, sofern keine Hindernisse und Lageabweichungen vorhanden sind, mit maximal 90% der Kanalnennweite gewählt werden (Tabelle 5.3.2.2.2.7-1) .
Abmessungen von Standard-Kurzrohren [FI-RST]
| Kanal DN |
Standard−Kurzrohr* | |
|---|---|---|
| da [mm] | di [mm] | |
| 200 | 180 | Abhängig von statischen Erfordernissen |
| 250 | 225 | |
| 300 | 280 | |
| 350 | 315 | |
| 400 | 355 | |
| 450 | 400 | |
| 500 | 450 | |
| * andere Abmessungen möglich | ||
Unmittelbar vor dem Ende der bereits eingebauten Rohrleitung wird das Abzweigrohr unter Kamerabeobachtung so ausgerichtet, daß die Öffnung des Kanals mit der des Kurzrohres deckungsgleich ist (Bild 5.3.2.2.2.7-1) .
Da zur Zeit eine absolut exakte Positionierung des Abzweigrohres nicht möglich ist, werden die Anschlußöffnungen größer als erforderlich dimensioniert. Das Rohr erfährt dadurch allerdings eine zusätzliche Schwächung in statischer Hinsicht [Miege89a] .
Anschließend erfolgt die Verbindung des Rohres mit der bereits verlegten Rohrleitung mit Hilfe eines an den Installationswagen gekoppelten Zugseiles (Bild 5.3.2.2.2.7-1) .
Zur Abdichtung des Ringraumes im Einbindungsbereich dient eine außen auf dem Kurzrohr um die Abzweigöffnung befestigte Dichtungsmanschette aus einer PVC-Folie, die nach dem kontrollierten Einbau des Kurzrohres über ein auf die Rohrinnenseite geführtes Rückschlagventil mit Epoxidharz verfüllt wird und so den Ringspalt abdichtet (Bild 5.3.2.2.2.7-2) (Bild 5.3.2.2.2.7-4) . Bis zur Einbindung des nächsten Anschlußkanals können dann die Rohre als Teilleitung eingefahren werden [Jürge87] .
Das Positionieren des präparierten Rohres im Einbindungsbereich des Anschlußkanals muß möglichst exakt erfolgen, um ein Einragen der Dichtungsmanschette in den Querschnitt des Anschlußkanals zu vermeiden. Dies ist im Sohlenbereich eines seitlich einbindenden Anschlußkanals unbedingt erforderlich, da dort sonst Verstopfungen zu erwarten sind.
Lageabweichungen des Inliners in Horizontalrichtung infolge der Verfüllung der Dichtungsmanschette können durch einen Gegenwulst vermieden werden. Gleichzeitig wird in Verbindung mit dem Gegenwulst eine übermäßige Aufweitung mit Beschädigung der Dichtungsmanschette verhindert (Bild 5.3.2.2.2.7-5) [Miege89a] .
Bild 5.3.2.2.2.7-4:
Kurzrohrverfahren: Einbindung von Anschlüssen an den Inliner (Wiik & Höglund) [FI-Wiik] - Anordnung der Dichtungsmanschette |
Bild 5.3.2.2.2.7-5:
Kurzrohrverfahren: Einbindung von Anschlüssen an den Inliner [FI-Wiik] - Lagesicherung des Kurzrohres mit Anschlußöffnung durch Anordnung eines Gegenwulstes |
Nach Beendigung der Rohrverlegung erfolgt die Verfüllung des gesamten Ringraumes.
Bei einer weiteren Entwicklung des Kurzrohrverfahrens, die sich aber nicht durchsetzen konnte, wurde ein besonderer Schwerpunkt auf die Ausbildung einer wasserdichten Wiederherstellung des Einbindungsbereiches von Anschlußkanälen gelegt [FI-Puhlm] .
Bei diesem Verfahren werden GFK-Kurzrohre einzeln mit Hilfe eines Transportschlittens in den zu sanierenden Kanal im Nennweitenbereich DN 250 bis DN 800 gezogen.
Im jeweils zuletzt montierten Rohr befindet sich ein Zentrierwagen, der das Rohr vom Schlitten abnimmt und dessen Einführen in die Rohrverbindung unterstützt (Bild 5.3.2.2.2.7-6) (Bild 5.3.2.2.2.7-7) (Bild 5.3.2.2.2.7-8) .
Bild 5.3.2.2.2.7-6:
Kurzrohrverfahren (Hemscheidt-Intech-Verfahren) [FI-Puhlm] - Prinzipskizze |
Bild 5.3.2.2.2.7-7:
Kurzrohrverfahren (Hemscheidt-Intech-Verfahren) [FI-Puhlm] - Einfahren der Normalrohre |
Bild 5.3.2.2.2.7-8:
Kurzrohrverfahren (Hemscheidt-Intech-Verfahren) [FI-Puhlm] - Einfahren der Hausanschlußrohre |
Im Einbindungsbereich von Anschlußkanälen kommen werkseitig mit einer entsprechenden Öffnung versehene Hausanschlußrohre zum Einsatz. Die Deckungsgleichheit der beiden Öffnungen wird mit einem Drehantrieb im Transportschlitten realisiert. Am Rand der Anschlußöffnung ist eine dehnbare, mittig geöffnete GFK-Matte anlaminiert, die in Richtung des Anschlußkanals vorgeformt ist und unmittelbar vor dem Einbringen des Rohres mit Reaktionsharz getränkt wird.
Nach exakter Positionierung des Rohres wird ein auf dem Transportschlitten befestigter, pneumatischer Packer aufgepumpt, der die GFK-Matte so lange an den Einbindungsbereich preßt, bis das Reaktionsharz evtl. unter Wärmezufuhr ausgehärtet ist (Bild 5.3.2.2.2.7-9) .
Diese Methode der nachträglichen Anschlußeinbindung ist nach Herstellerangaben prinzipiell übertragbar auf alle Auskleidungsverfahren mit Rohren.
In diesem Falle wird in die zuvor aufgefräste Anschlußöffnung nur die Dichtungsmanschette aus epoxidharzgetränktem GFK-Gewebe mit Hilfe einer Transport- und Montageeinrichtung eingebracht und mit einem Packer an die Innenwand gedrückt (Bild 5.3.2.2.2.7-10) . Nach dem Aushärten werden der Packer entlüftet, der Hydraulikzylinder eingefahren und das Anschlußaggregat entfernt.
Bild 5.3.2.2.2.7-9:
Kurzrohrverfahren (Hemscheidt-Intech-Verfahren) [FI-Puhlm] - Wiederherstellung des Einbindungsbereiches von Anschlußkanälen: Kanal ohne Inliner |
Bild 5.3.2.2.2.7-10:
Kurzrohrverfahren (Hemscheidt-Intech-Verfahren) [FI-Puhlm] - Wiederherstellung des Einbindungsbereiches von Anschlußkanälen: Kanal mit Inliner |
