Rauchtest
Zur Feststellung der Quellen von Fremdwasserzuflüssen, illegaler oder falscher Anschlüsse (Fehlanschlüsse) bei der Trennkanalisation (Bild 4.5.1.10-1) (Bild 4.5.1.10-2) und eingeschränkt auch zur Leckortung (Abschnitt 4.5.2) bei nicht im Grundwasser liegenden Kanälen kann auch die schnelle und preiswerte Methode des Rauchtests angewendet werden [WPCFFD6] [NASSCO85a] .
|
Bild 4.5.1.10-1:
Durch Rauchtest festgestellter Fehlanschluß eines Straßenablaufes an einem Schmutzwasserkanal [FI-KMG] |
Bild 4.5.1.10-2:
Durch Rauchtest festgestellter Fehlanschluß einer Regenfallleitung an einem Schmutzwasserkanal [FI-KMG] |
Hierbei wird ein entsprechend großes Rauchvolumen entweder unter niedrigem Druck in einen oder mehrere Einsteigschächte eingeblasen oder durch in der Leitung plazierte Rauchbomben (3- und 5-Minuten-Typ) erzeugt. Der Rauch selbst ist kalt, weiß, geruchslos, frei von Öl- und Farbpartikeln und nicht gesundheitsgefährdend.
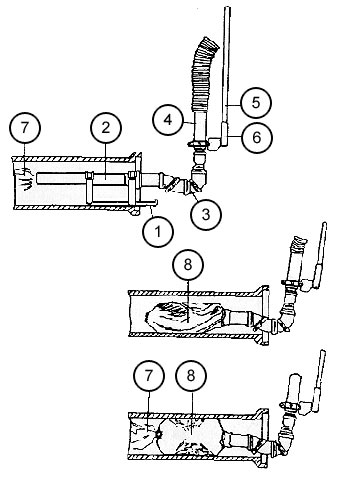
Einführungsvorrichtung des Nebelgerätes FOGI mit Absperrblase [FI-Göhne]
Der Test erfolgt i.a. haltungsweise, wobei Haltungslängen bis zu 300 m in einem Arbeitsgang untersucht werden können. Die Haltungen werden normalerweise mit Absperrblasen oder Sandsäcken verschlossen. Eine Spezialentwicklung zeigt (Bild 4.5.1.10-3) .
Die Beobachtung des Rauchaustritts erfolgt von der Geländeoberfläche aus; zur Dokumentation dienen Fotoaufnahmen. Das Beobachtungsteam besteht aus 3 Personen.
Der Rauchtest erfordert durchgängige, wasserfreie Haltungen. Im Falle von z.B. Unterbögen mit Wasservollfüllung wird der Rauchdurchgang verhindert und somit die Ergebnisse verfälscht.
Für den Fall, daß mit dieser Methode eine Leckortung erfolgen soll, müssen folgende Anforderungen erfüllt sein:
- Durchgängiger Luftraum im gesamten Testbereich
- Grundwasserstand unterhalb des Kanals
- Der Boden in und oberhalb der Leitungszone bis zur Geländeoberfläche darf nicht wassergesättigt oder gefroren sein
- Die Geländeoberfläche muß schneefrei sein.
Vor der Durchführung des Rauchtestes sind die Anwohner, die Feuerwehr, die Polizei u.a. zu verständigen.
