Anschlusskanäle
Den größten Problembereich unserer Kanalisationen stellen zweifellos die Anschlußkanäle nach DIN 4045 [DIN4045:1985] bzw. Abwasserleitungen nach DIN EN 752-1 [DINEN752-1:1996] der Grundstücksentwässerungen sowie der Straßenabläufe und ihre Einbindung in die öffentlichen nichtbegehbaren Abwasserkanäle (nachfolgend auch Straßenkanal genannt) dar (Abschnitt 2.3.1) (Abschnitt 2.9) [Stein85d] .
Gemauerter Kanal (Eiprofil) mit Einlässen [Benze21]
Nach ATV-A 241 [ATVA2411:1978] aus dem Jahre 1978 sollten diese Anschlußkanäle "in der Regel außerhalb der Schächte in die Kanäle eingeführt werden" (Bild 1.9.2-1) .
Damit sanktionierte man die bis dahin in Deutschland übliche Einbindungspraxis, die Benzel [Benze21] im Jahre 1921 wie folgt beschrieb: "Zur Einleitung des Abwassers in Steinzeugrohrleitungen und kleine Betonleitungen dienen Abzweigrohre, in größere Betonkanäle und gemauerte Kanäle eingemauerte Rohrstutzen, zur Einleitung in letztere auch Einlaßstücke aus Steinzeug. Die Einlässe bilden gewöhnlich einen Winkel von 45° mit der Hauptleitung".
In der Regel und insbesondere bei der Herstellung nachträglicher Einbindungen erfolgte dies jedoch durch Aufstemmen des Kanals und Verspachteln des freigebliebenen Raumes zwischen dem eingeschobenen Anschlußkanal und der ausgebrochenen Kanalwandung. Bei dieser Vorgehensweise ist es nicht möglich, eine dauerhafte, wasserdichte und gelenkige Verbindung herzustellen. Zusätzlich besteht die Gefahr, daß der Straßenkanal selbst unkontrolliert in Form von Rissen, Scherben und Rohrbruch beschädigt wird (Abschnitt 2.2.1) .
Diese auf den Beginn der modernen Kanalisationstechnik im Jahre 1842 zurückzuführende Art der Einbindung von Hausanschlüssen in Abwasserkanäle wurde seit jeher als Schwachstelle des Systems erkannt. Sie hat dazu geführt, daß
- es insbesondere im innerstädtischen Bereich zu einer Konzentration von Anschlüssen innerhalb einer Haltung kommen kann, wobei Einbindungsabstände von 1 bis 2 m keine Seltenheit sind,
- nachträglich vorgenommene Anschlüsse an nichtbegehbaren Kanälen in vielen Fällen nicht fachgerecht hergestellt wurden, d.h. undicht sind (Bild 1.9.2-2) oder in den Straßenkanal hineinragen und ein Abflußhindernis bilden (Bild 1.9.2-4) .
In Erkenntnis dieser Problematik wird in dem seit Oktober 1988 gültigen ATV-A 139 [ATVA139:1988] verlangt, Anschlußkanäle gleichzeitig mit dem Bau des Straßenkanals anzuschließen.
"Nachträglich herzustellende Anschlußöffnungen dürfen nur mit einem geeigneten Bohrgerät hergestellt werden, sofern nicht ein Abzweig eingebaut wird. Bei Verwendung eines Kernbohrgerätes muß die Nennweite des Straßenkanals ≥ DN 300 sein. (…) Der Anschluß darf nur mit Formstücken und Dichtmitteln erfolgen, die genormt sind oder für die ein gültiger Prüfbescheid des Instituts für Bautechnik, Berlin vorliegt. Der Einmündungswinkel soll 45° betragen. Bei Nennweiten des Straßenkanals ≥ DN 500 oder einem Durchmesserverhältnis von etwa 1:3 zwischen Anschluß- und Straßenkanal kann auch unter 90° angeschlossen werden. Der Anschlußpunkt soll bei nichtbegehbaren Kanälen bis DN 800 zwischen Kämpfer und Scheitel des Hauptrohres liegen" (Bild 1.9.2-2) (Bild 1.9.2-3) (Bild 1.9.2-4).
Bild 1.9.2-2:
Beispiele für die Einbindung von Anschlußkanälen an den Straßenkanal in Anlehnung an [ATVA139:1988] - Anschluss im Kämpfer bei geringer Höhendifferenz. [Quelle: visaplan GmbH] |
Bild 1.9.2-3:
Beispiele für die Einbindung von Anschlußkanälen an den Straßenkanal in Anlehnung an [ATVA139:1988] - Anschluss im Kämpfer bei geringer Höhendifferenz mit schräg einfallenden Rohren. [Quelle: visaplan GmbH] |
Bild 1.9.2-4:
Beispiele für die Einbindung von Anschlußkanälen an den Straßenkanal in Anlehnung an [ATVA139:1988] - Anschluss im Scheitel mit freistehenden Aufsatzrohren. [Quelle: visaplan GmbH] |
DIN EN 1610 [DINEN1610:1997] enthält zum Thema Anschlüsse an Rohre und Schächte folgende Ausführungen: "Für Anschlüsse an Rohre und Schächte sind vorgefertigte Bauteile zu verwenden (…). Wo Anschlüsse an Rohre und Schächte auszuführen sind, ist sicherzustellen, daß
- die Tragfähigkeit der zusammengeführten Rohrleitungen nicht überschritten wird,
- das anzuschließende Rohr nicht über die innere Oberfläche des vorhandenen Rohres oder Schachtes, woran es angeschlossen wird, hinausragt und
- der Anschluß in Übereinstimmung mit Abschnitt 13 (Verfahren und Anforderungen für die Prüfung von Freispiegelleitungen) dicht hergestellt wird".
Als Anschlußvarianten sieht DIN EN 1610 [DINEN1610:1997] vor:
- Abzweige,
- Anschlußformstücke (Dichtmittel gegen die Innenwandung der erstellten Kernbohrung abgesetzt),
- Sattelstücke (Dichtmittel zwischen der Außenfläche vorhandener Rohre und der Innenfläche des Sattelflansches),
- Schweißen oder
- Anschlüsse an Schächte und Inspektionsöffnungen.
Auch diese neuen Vorschriften für die Einbindung von Anschlußkanälen (mit Ausnahme der letztgenannten) eliminieren nicht die eigentliche Schwäche und Problematik dieser Anschlußart, die sich seit wenigen Jahren mit der verstärkten Durchführung von Instandhaltungsmaßnahmen in nichtbegehbaren Kanälen bemerkbar macht.
So ist es in diesem, etwa 80 % der öffentlichen Kanalisation umfassenden Bereich nur unter sehr erschwerten Bedingungen und relativ hohen Kosten möglich, quantitative Inspektionen, z.B. die immer wichtiger werdende Dichtheitsprüfung durchzuführen, da die haltungsweise Prüfung (Bild 1.9.2-1) (Abschnitt 4.5.1.2) bei Vorhandensein von Anschlüssen ohne Hilfsmaßnahmen nicht möglich ist.
Bei Sanierungsmaßnahmen wachsen die ohnehin vorhandenen technischen Schwierigkeiten und Kosten im nichtbegehbaren Nennweitenbereich mit steigender Anzahl von Anschlußkanälen innerhalb der Haltung erheblich.
Da das Abtrennen der Anschlußkanäle vor und das Wiedereinbinden nach erfolgter Sanierung nichtbegehbarer Kanalhaltungen in der Regel nur in offener Bauweise möglich ist (Bild 1.9.2-12) [Stein89c] , kommt in vielen Fällen als einzige Alternative nur noch die Haltungserneuerung in offener Bauweise mit ihren bekannten Nachteilen in Frage (Abschnitt 1.6.1) .
Einen idealen Ausweg aus dieser Situation bietet ein Kanalnetz, bei dem möglichst alle Anschlußkanäle ausschließlich in Schächte münden [Stein92b] [Stein89e] [Stein93b] [Stein80b] (Bild 1.9.2-5) (Bild 1.9.2-6) (Bild 1.9.2-7) (Bild 1.9.2-11) (Bild 1.9.2-8) (Bild 1.9.2-9) (Bild 1.9.2-10) (Video 1.9.2-1).
Bild 1.9.2-8:
Ausbau einer Baugrube zum Einsteigschacht [ATVA2411:1978] - Schachtausbildung bei Einbindung mehrerer Hausanschlüsse |
Bild 1.9.2-9:
Ausbau einer Baugrube zum Einsteigschacht in Anlehnung an [ATVA2411:1978] - Schachtausbildung bei Einbindung mehrerer Hausanschlüsse (Schnitt B -B) [Quelle: STEIN Ingenieure GmbH] |
Bild 1.9.2-10:
Ausbau einer Baugrube zum Einsteigschacht [ATVA2411:1978] - Detail Anschlußpunkt |
Kanalanschluß mit Umlaufgerinne in Anlehnung an [Ullma94] [Quelle: STEIN Ingenieure GmbH]
Durch diese indirekte Einbindung der Anschlußkanäle an den Straßenkanal werden folgende Vorteile erzielt [Möhri87b] [Stein84e] :
- leichtere Wartung und Inspektion,
- einfachere Schadensbehebung sowohl in den Anschlußkanälen als auch im Straßenkanal,
- jederzeitige Überprüfung des vom Grundstück eingeleiteten Abwassers.
Damit wird die Forderung nach instandhaltungsgerechtem Bauen nach DIN 19550 [DIN19550] erfüllt. Erstmalig ist es problemlos möglich, die geforderte Dichtheit sowohl des Kanals als auch der Hausanschlüsse voneinander getrennt meßtechnisch zu überprüfen und somit Gefahren für die Umwelt frühzeitig erkennen und beseitigen zu können.
Diese Konzeption ist nicht neu, sondern nur in Vergessenheit geraten. So bestimmte beispielsweise § 135 des bis 1902 gültigen Ortsbaugesetzes für die Stadt Leipzig: "Sämtliche den Rohrschleusen zuzuführenden Neben-, Bei- und Fallrohrschleusen haben in den Reinigungsschächten auszumünden und dürfen keinesfalls mittels Ansatzstücken oder Stiefel mit der Hauptschleuse verbunden werden. Die gegenseitige Entfernung der Schächte ist daher so zu wählen, daß sämtliche gleichzeitig oder später erforderlich werdenden Neben-, Bei- und Fallrohrschleusen in die Schächte auf möglichst direktem Wege eingeführt werden können" [Frühl10] .
In neuerer Zeit wurde dieser Vorschlag erstmalig im ATV-A 241 [ATVA2411:1978] aus dem Jahre 1994 aufgegriffen. Dort wird ausgeführt: "Anschlußkanäle von Grundstücken und Straßenabläufen können an Schächten oder außerhalb der Schächte in die Kanäle eingeführt werden. Es ist anzustreben, Anschlußkanäle von Grundstücken, wo es technisch möglich ist, an Schächte anzuschließen. In Wasserschutzgebieten sind diese Kanäle grundsätzlich in Schächte einzuführen. Um den Spüleffekt am Beginn der 1. Haltung zu verbessern, sollen auch Anfangsschächte 1 oder 2 Anschlüsse erhalten. Sind Anschlüsse in Schächten vorgesehen, so darf die Einleitung nur im Auftritt mit Rinne vorgenommen werden".
In der neuesten Ausgabe des ATV-A 241 [ATVA2411:1978] aus dem Jahre 1995 wird diese Aussage jedoch dadurch wieder etwas abgeschwächt, daß der zweite zitierte Satz ersatzlos gestrichen wurde.
(Bild 1.9.2-12) , (Bild 1.9.2-13) , (Bild 1.9.2-14) , (Bild 1.9.2-15) zeigen einige Beispiele für Anschlüsse an Rohren aus Beton bzw. Stahlbeton, duktilem Guß, Steinzeug und Kunststoff.
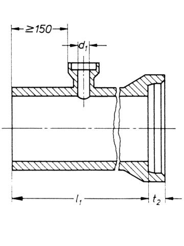
Bild 1.9.2-12:
Beispiele für Anschlüsse - Betonrohr mit Scheitelzulauf [DIN4032:1981/59] |
Bild 1.9.2-13:
Beispiele für Anschlüsse - Sattelstück aus duktilem Guß [FI-Thyssa] |
Bild 1.9.2-14:
Beispiele für Anschlüsse - Abzweigformstücke aus Steinzeug [FI-Stein96] |
Bild 1.9.2-15:
Beispiele für Anschlüsse - Abzweigformstück Ultra-Rib, Abzweigwinkel a = 45° [FI-Upono] |
(Bild 1.9.2-16) , (Bild 1.9.2-17) zeigen Betonrohrformstücke mit Scheitelöffnung und Seitenzulauf aus den 60er Jahren:
Bild 1.9.2-17:
Betonrohr mit Fuß und Seitenzulauf [Probs51] |
Betonrohr mit Fuß und Seitenzulauf [Probs51]
| Weite d | Achslänge z bei Nennweite D | Kleinste Muffenweite d1 |
||
|---|---|---|---|---|
| von 100 bis 500 mm | von 600 bis 1500 mm | von 1600 bis 2000 mm |
||
| 100 | 150 | 220 | 270 | 170 |
| 125 | 160 | 230 | 280 | 200 |
| 150 | 165 | 235 | 285 | 230 |
| 200 | 180 | 250 | 300 | 290 |
| 250 | 195 | 265 | 315 | 350 |
| 300 | 210 | 280 | 330 | 405 |
