Falter
Falter untersuchte das Tragverhalten von Inlinern anhand von nichtlinear geometrischen Berechnungen an Stabwerksmodellen [Falte94a]. Die Berechnungen erfolgten unter der Annahme einer über die Rohrlänge konstanten Belastung, vernachlässigbarer Reibung zwischen Altrohr und Inliner und richtungstreuer Lasten für "kleine Verschiebungen", wobei auch Vorverformungen und Spaltbildung Berücksichtigung fanden. Ausgangspunkt ist die Beulformel (5-14) (Bild 5.3.2.6.1.2.3) nach Glock, welche durch Abminderungsfaktoren angepaßt wird, so daß sich folgende Gleichung zur Ermittlung des kritischen Beuldrucks des vollwandigen Rohres ergibt [Falte94a] :
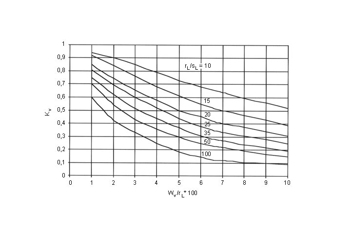
κv - Abminderungsfaktor für Vorverformungen (Bild 5.3.2.6.1.2.7-2)
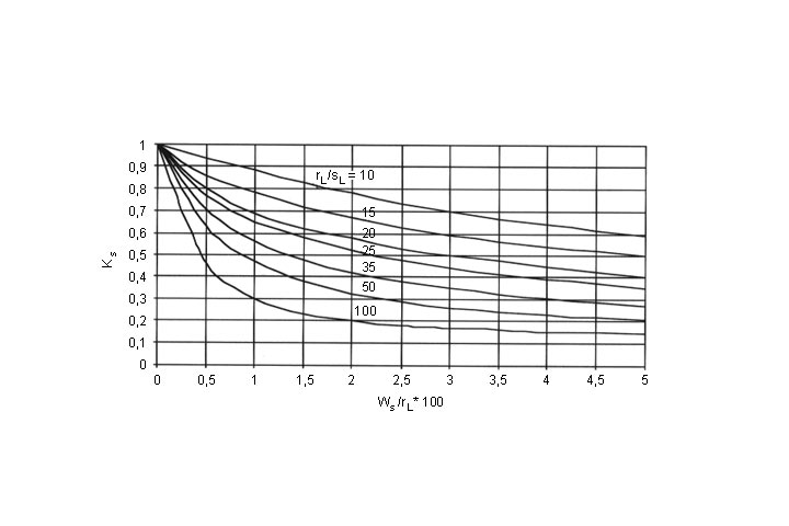
κs - Abminderungsfaktor für Spaltbildung (Bild 5.3.2.6.1.2.7-3) .
Der Spalt ist definiert als konstanter Abstand ws zwischen Inlineraußen- und Altrohrinnenwandung (Bild 5.3.2.6.1.2.7-1) . Dadurch verringert sich die aufnehmbare Last des Inliners. Die Abminderung der maximal aufnehmbaren Last des Inliners ist vom Radius-/ Wanddickenverhältnis rL /sL des Inliners abhängig und wird im Stabilitätsnachweis durch die Abminderungsfaktoren κv und κs berücksichtigt (Bild 5.3.2.6.1.2.7-2) (Bild 5.3.2.6.1.2.7-3) .
Vorverformungen werden als cos2 -Funktion angenommen und durch die folgenden drei Angaben vollständig beschrieben:
- Lage der Vorverformung als Winkel φv , vom Scheitel aus gemessen,
- maximale Tiefe wv der Vorverformung,
- Ausbreitung 2φ0 der Vorverformung.
Der für das Beulen maßgebende Öffnungswinkel 2φ1 wurde für den kleinsten Beuldruck ermittelt, so daß für den Stabilitätsnachweis nur noch die Lage φv und die Tiefe der Vorverformung frei wählbare Größen sind. Die aufgrund von Parametervariationen ermittelten Werte des Abminderungsfaktors κv können (Bild 5.3.2.6.1.2.7-2) entnommen werden. Mit 1% < wv < 10 % und 10 < rL/sL < 100 sollen die in der Praxis vorkommenden Fälle abgedeckt werden.
Nach [Falte94a] kann auch unter äußerem Wasserdruck neben dem Stabilitätsversagen ein Druckversagen der maßgebenden Randfaser auftreten. Für eine erste Abschätzung von Wanddicken, für Trenduntersuchungen und zur Überprüfung von elektronischen Rechenergebnissen für den geometrisch nichtlinearen Fall werden daher im Anhang 1/T3 des Überarbeitungsentwurfes des ATV-A 127 [ATVA127:1997] zahlreiche m- und n- Diagramme angeboten.
Bild 5.3.2.6.1.2.7-1:
Darstellung eines Spaltes ws [Falte94a] |
Bild 5.3.2.6.1.2.7-2:
Abminderungsfaktoren κv [Falte94a] |
Bild 5.3.2.6.1.2.7-3:
Abminderungsfaktoren κs [Falte94a] |
