Abschlußarbeiten und -prüfungen
Bezüglich der Abschlußarbeiten und -prüfungen gelten prinzipiell die betreffenden Ausführungen des konventionellen Rohrstrangverfahrens (Bild 5.3.2.2.1.4.3-2) .
Die Wiederherstellung der Einbindung von Anschlußkanälen bzw. Seitenzuläufen kann mit den o.a. Verfahren in offener und geschlossener Bauweise durchgeführt werden. Darüber hinaus wurden Spezialverfahren entwickelt, die nachfolgend vorgestellt werden. Eine Lösung in offener Bauweise für so sanierte Stahl- bzw. Gußrohrleitungen wird in [FI-DIGA] beschrieben.
Zunächst wird die sanierte Rohrleitung durch eine Kopfbaugrube im Anschlußbereich freigelegt. Um das zu entfernende Rohrstück des Altrohres wird anschließend mit Hilfe einer pneumatisch betriebenen Hochleistungsfräse (auch Fensterschneider genannt) eine Rechtecknut erzeugt (Bild 5.3.2.2.1.4.3-1) (Bild 5.3.2.2.1.4.3-3) , welche die Rohrwandung derart schwächt, daß das Wandstück ohne das Risiko einer Schädigung des Inliners entfernt werden kann. Die Durchtrennung der Fräsnut des Segmentes erfolgt entweder mit Hilfe eines aufgespannten Schwingungsgebers oder einer speziellen Abziehvorrichtung (Bild 5.3.2.2.1.4.3-2) [FI-DIGA] .
Bild 5.3.2.2.1.4.3-1:
Wiederherstellung der Einbindung von Anschlußkanälen bei mit Rohrstrangverfahren ohne Ringraum sanierten Stahl- bzw. Gußrohrleitungen [FI-DIGA] - Aufgespannter Fensterschneider |
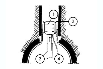
Bild 5.3.2.2.1.4.3-2:
Wiederherstellung der Einbindung von Anschlußkanälen bei mit Rohrstrangverfahren ohne Ringraum sanierten Stahl- bzw. Gußrohrleitungen [FI-DIGA] - Abziehvorrichtung zum Entfernen des Fenstersegments |
Bild 5.3.2.2.1.4.3-3:
Wiederherstellung der Einbindung von Anschlußkanälen bei mit Rohrstrangverfahren ohne Ringraum sanierten Stahl- bzw. Gußrohrleitungen [FI-DIGA] - Fräsen der Fensternut |
Eventuelle Toleranzen in der Wanddicke des Altrohres können mittels eines zerstörungsfrei arbeitenden Ultraschallmeßverfahrens exakt geortet werden, um zuverlässig eine Restwanddicke von 0,3 bis 0,6 mm einzuhalten.
Das Fräsen ist nur mit einer relativ geringen Wärmeentwicklung verbunden, die durch Kühlung noch reduziert werden kann.
Die eigentliche Einbindung wird mit Hilfe von Anbohrschellen oder Anbohrsättel realisiert, die mittels eines elektrischen Schweißverfahrens mit dem PE-HD-Inliner verbunden werden.
Ein Verfahren zur Einbindung von Seitenzuläufen bei mit PE-HD-Rohren sanierten Kanälen in geschlossener Bauweise wird in [ElKha94] [FI-Lafre] erläutert.
Nach exakter Ortung des jeweiligen Seitenzulaufes vom sanierten Kanal aus durch ein Sender-Empfänger-System oder einer im Seitenzulauf installierten Lichtquelle mit Hilfe einer Kanalkamera wird der Inliner im Einbindungsbereich durch einen Infrarotheizstrahler partiell erwärmt und weitestgehend plastifiziert (Bild 5.3.2.2.1.4.3-4) .
Anschließend wird ein Verformungsmodul positioniert, gegen die Rohrwand verspannt und das plastifizierte PE-HD durch einen hydraulisch bewegten Formkörper thermo-mechanisch zu einem Abzweig verformt (Bild 5.3.2.2.1.4.3-5) .
Die materialbedingte Rückformung des so geformten PE-HD-Abzweiges infolge verzögerter elastischer Rückstellung wird durch einen Ring aus V2A-Stahl verhindert, so daß der eingepreßte Stutzen auch nach Zurückziehen des Formkörpers und im erkalteten Zustand ohne Ringspalt an der Wandung des Seitenzulaufes anliegt.
Im letzten Arbeitsgang wird mit Hilfe eines Packers eine Übergangsmuffe zur wasserdichten Anbindung positioniert und verspreizt (Bild 5.3.2.2.1.4.3-6) , welche am unteren Ende auf der Höhe des eingepreßten V2A-Ringes und am oberen Ende an die Innenwand des Seitenzulaufes anbindet. Mit dieser Konstruktion wird der kritische Anschlußbereich auf einer Länge von 150-200 mm überbrückt (Bild 5.3.2.2.1.4.3-7) (Bild 5.3.2.2.1.4.3-8) (Bild 5.3.2.2.1.4.3-9).
Bild 5.3.2.2.1.4.3-4:
Wiederherstellung der Einbindung von Anschlußkanälen durch direkte thermo-mechanische Anformung des ohne Ringraum verlegten PE-HD-Inliners - Aufbau der Geräteeinheit [FI-Lafre] |
Bild 5.3.2.2.1.4.3-5:
Wiederherstellung der Einbindung von Anschlußkanälen durch direkte thermo-mechanische Anformung des ohne Ringraum verlegten PE-HD-Inliners [ElKha94] - Erwärmung des Inliners |
Bild 5.3.2.2.1.4.3-6:
Wiederherstellung der Einbindung von Anschlußkanälen durch direkte thermo-mechanische Anformung des ohne Ringraum verlegten PE-HD-Inliners [ElKha94] - Formung des Einbindungsbereiches mit Hilfe eines Formkörpers |
Bild 5.3.2.2.1.4.3-7:
Wiederherstellung der Einbindung von Anschlußkanälen durch direkte thermo-mechanische Anformung des ohne Ringraum verlegten PE-HD-Inliners [ElKha94] - Einsetzen und Aufspreizen der Übergangsmuffe |
Bild 5.3.2.2.1.4.3-8:
Wiederherstellung der Einbindung von Anschlußkanälen durch direkte thermo-mechanische Anformung des ohne Ringraum verlegten PE-HD-Inliners [ElKha94] - Schnitt eines fertiggestellten Einbindungsbereiches |
Bild 5.3.2.2.1.4.3-9:
Wiederherstellung der Einbindung von Anschlußkanälen durch direkte thermo-mechanische Anformung des ohne Ringraum verlegten PE-HD-Inliners - Ansicht eines fertiggestellten Einbindungsbereiches [FI-Lafre] |
