Wiederherstellung in geschlossener Bauweise
Bei der Einbindung von Seitenzuläufen in geschlossener Bauweise entfällt die Baugrube, da alle erforderlichen Arbeiten entweder vom sanierten Kanal aus oder über den Anschlußkanal selbst in Abhängigkeit der Nennweite manuell bzw. mit Hilfe fernsteuerbarer Geräte ausgeführt werden.
Im letztgenannten Anwendungsfall muß der Anschlußkanal eine Zugangsöffnung und einen für das Einschieben der Geräte entsprechenden freien Querschnitt besitzen. Formstücke, wie Übergangsstücke und Bögen, sind bei der Gerätewahl zu berücksichtigen.
Die Wiederherstellung der Einbindung von Anschlußkanälen in geschlossener Bauweise erfolgt in der Regel vom sanierten Kanal aus nach der Ringraumverfüllung, um Beschädigungen des neuen Anschlusses durch Bewegungen des Lining-Rohres beim Verfüllvorgang zu vermeiden.
Im begehbaren Nennweitenbereich wird der vorher eingemessene Anschluß von Hand mit Hilfe geeigneter Bohr-, Schneid- oder Fräsgeräte geöffnet und der Übergangsbereich zum Schutz gegen Korrosion und Umläufigkeit nachbehandelt (Abschnitt 5.3.2.5) .
Im nichtbegehbaren Nennweitenbereich erfolgt das Öffnen durch ferngesteuerte und TV-überwachte Spezialgeräte.
Beim Öffnen mittels Fräsen ist hierbei zu beachten, daß es unter Umständen beim Auffräsen des verfüllten Ringraumes zum Auftreten von Temperaturen kommen kann, die eine Schädigung des Linerwerkstoffes nicht ausschließen lassen. Es sind deshalb langsamdrehende und/oder gekühlte Fräsen zu verwenden.
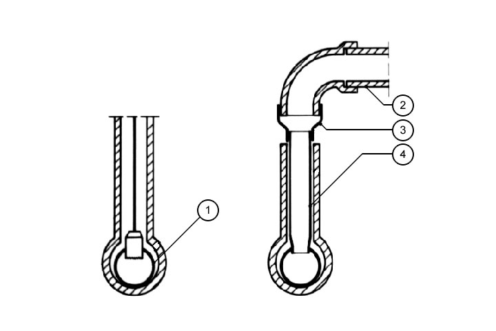
Für die Einbindung am Inliner bietet sich die hutförmige Anschlußmanschette, auch Hutmanschette genannt, an [WO9628685] (Abschnitt 5.2.1.6) .
Hierbei wird nach dem Öffnen des Inliners ein ca. 5- 45 cm langer harzgetränkter, an beiden Enden offener zylinderförmiger Schlauch aus Glasfasergewebe oder Filzmaterial, der am unteren Ende mit einer mehrere Zentimeter breiten Krempe versehen ist, mittels eines speziellen Einbaugerätes in der Anschlußöffnung plaziert und dort verklebt.
Um eine möglichst dichte Verklebung zu gewährleisten, wird die Hutmanschette sowohl im Inliner als auch im Anschlußkanal während des Aushärtens mit Hilfe spezieller Packer fest angepreßt.
Nach [Dilg96] sollte hierbei die erste Rohrverbindung des Anschlußkanales in diese Maßnahme mit einbezogen werden, da dieser Bereich sich durch unterschiedliches Setzungsverhalten von saniertem Kanal und Anschlußkanal bzw. Verlegefehler häufig als kritischer Punkt erwiesen hat.
Besteht der Liner aus thermoplastischem Kunststoff (PE-HD, PP), dann wird als Krempe ein spezielles verschweißbares PE-HD-Übergangsstück mit eingelegter Heizwendel verwendet.
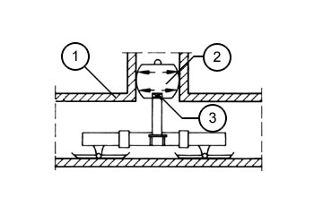
Ein Beispiel einer solchen nachträglich hergestellten Anschlußkanaleinbindung zeigen (Bild 5.3.2.2.1.1.5.3-1) und (Bild 5.3.2.2.1.1.5.3-2) . Ein zuvor eingebrachter Kurzschlauch im Übergangsbereich dient in diesem Fall als Träger für die materialgleiche Verklebung mit dem relativ kurzen, schlauchförmigen Teil der Hutmanschette. Dieses Verfahren kann für variable Winkel (30-90°) des Seitenzulaufes (DN 100-200) bei Nennweiten des Kanals von DN 200 bis 600 eingesetzt werden. Auf das Einbringen des Kurzschlauches kann bei Verwendung von Hutmanschetten mit genügend langem Schlauchteil verzichtet werden.
Bild 5.3.2.2.1.1.5.3-1:
Einbindung eines Anschlußkanales in geschlossener Bauweise mit Hilfe einer Hutmanschette in Anlehnung an [FI-Stehm] (AK-System) - Prinzipskizze [Quelle: STEIN Ingenieure GmbH] |
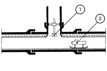
Bild 5.3.2.2.1.1.5.3-2:
Einbindung eines Anschlußkanales in geschlossener Bauweise mit Hilfe einer Hutmanschette (AK-System) [FI-Stehm] - Einbaugerät mit Hutmanschette in Einbauposition |
Zur Erleichterung des Auffindens der Einbindestellen wurden in Großbritannien Systeme konzipiert, bei denen vor dem Einziehen des Inliners in die Anschlüsse ein Packer entweder mit einem Sender oder einer radioaktiven Strahlungsquelle eingebracht wird. Ein im Schneid- oder Bohrgerät integrierter Empfänger ermöglicht dann deren exakte Positionierung (Bild 5.3.2.2.1.1.5.3-3) (Bild 5.3.2.2.1.1.5.3-4) (Bild 5.3.2.2.1.1.5.3-5) (Bild 5.3.2.2.1.1.5.3-6) .
Bild 5.3.2.2.1.1.5.3-3:
Wiederherstellung der Einbindung eines Anschlußkanales [Gale82] - Setzen der Spezialpackerblase mit integriertem Sender und Verfüllen der Blase mit PUR |
Bild 5.3.2.2.1.1.5.3-4:
Wiederherstellung der Einbindung eines Anschlußkanales [Gale82] - Inliner eingezogen, Ringraum verfüllt |
Bild 5.3.2.2.1.1.5.3-5:
Wiederherstellung der Einbindung eines Anschlußkanales [Gale82] - Positionieren des Hochdruckschneidegerätes mit integriertem Empfänger |
Bild 5.3.2.2.1.1.5.3-6:
Wiederherstellung der Einbindung eines Anschlußkanales [Gale82] - Öffnung freigeschnitten, Absperrblase zerstört; Sender wird im Schacht geborgen |
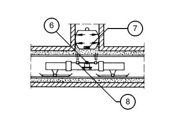
Eine andere, weniger gebräuchliche Vorgehensweise, die sowohl im begehbaren als auch im nichtbegehbaren Nennweitenbereich praktikabel ist, besteht darin, zunächst das Lining-Rohr zu öffnen, einen Packer im Übergangsbereich zu positionieren und anschließend den Ringraum zu verfüllen. Der Packer kann auch als Ringpacker (Bild 5.3.2.2.1.1.5.3-7) ausgeführt werden, um den Anschlußkanal möglichst frühzeitig wieder in Betrieb setzen zu können.
Absperren des Ringraumes im Einbindungsbereich eines Anschlußkanales mit Ring- oder Hohlpacker [WRC83]
Problematisch hinsichtlich des Einbringens und Verspannens ferngesteuerter Bohrgeräte ist der in Deutschland häufig anzutreffende 45°-Anschluß mit anschließendem Bogen (Abschnitt 1.9.1) .
Bei der Wiederherstellung der Einbindung vom Anschlußkanal aus werden in Abhängigkeit vom Zeitpunkt der Ringraumverfüllung zwei Verfahrensvarianten unterschieden:
1. Bei der ersten Variante werden der Einbindungsbereich mit einem durch den Anschlußkanal eingebrachten Packer verschlossen, der Inliner eingezogen und der Ringraum verfüllt (Bild 5.3.2.2.1.1.5.3-8) . Nach dem Entfernen des Packers wird mit einem ebenfalls über den Anschlußkanal eingebrachten Schneid-, Fräs- oder Bohrgerät der Einbindungsbereich geöffnet (Bild 5.3.2.2.1.1.5.3-9) . Letzterer kann abschließend in einem gesonderten Arbeitsgang nachgearbeitet und abgedichtet werden (Bild 5.3.2.2.1.1.5.3-10) .
2. Bei der zweiten Variante werden der eingezogene Inliner über den Anschlußkanal aufgebohrt, der Übergangsbereich mit einem Packer abgedichtet und der Ringraum verfüllt (Bild 5.3.2.2.1.1.5.3-11) . Zu dieser Variante zählt das in Kanada entwickelte "Toronto-System" [Gale82] .
Bild 5.3.2.2.1.1.5.3-8:
Herstellung der Einbindung in geschlossener Bauweise vom Anschlußkanal aus nach der Ringraumverfüllung [Gale82] - Arbeitsschritt 1 |
Bild 5.3.2.2.1.1.5.3-9:
Herstellung der Einbindung in geschlossener Bauweise vom Anschlußkanal aus nach der Ringraumverfüllung [Gale82] - Arbeitsschritt 2 |
Bild 5.3.2.2.1.1.5.3-10:
Herstellung der Einbindung in geschlossener Bauweise vom Anschlußkanal aus nach der Ringraumverfüllung [Gale82] - Arbeitsschritt 3 |
Für die Herstellung der Bohrung im Inliner wurde in Großbritannien ein fernsteuerbares, über Packer im Anschlußkanal verspannbares Bohrgerät, der sogenannte "Kenmole" entwickelt und patentiert [FI-Kenne] [Gale82] .
Das "Duraton-System" [Gale82] ist konzipiert für Leitungen ohne Ringraumverfüllung. Der Inliner wird hierbei nur im Anschlußbereich mit einer Polyurethaninjektion des Ringraumes fixiert. Dies erfolgt über einen Packer mit Injektionsöffnungen, der über den Anschlußkanal eingeführt und positioniert wird (Bild 5.3.2.2.1.1.5.3-12) . Danach wird die Anschlußöffnung hergestellt (Bild 5.3.2.2.1.1.5.3-12) .
Bei Anschlußkanälen, die nicht die o.g. Voraussetzungen erfüllen, jedoch bis zur Kanaltrasse oberflächennah verlaufen, dort über einen Bogen mehr oder weniger steil nach unten abknicken und im Scheitel oder Kämpfer einmünden (Abschnitt 1.9.1) , kann ein kombiniertes Verfahren eingesetzt werden.
In diesem Fall wird der Knickpunkt in offener Bauweise freigelegt, getrennt und die Einbindung in geschlossener Bauweise hergestellt. Hierfür können einmal die bereits erläuterten, über den Anschlußkanal arbeitenden Verfahren und zum anderen die nachfolgenden, fast ausschließlich in den USA und in Kanada entwickelten Spezialverfahren eingesetzt werden.
Bei der "Phillips Driscopipe minimum excavation technique" [Gale82] wird im ersten Arbeitsschritt eine Bohrung im Inliner hergestellt, die einen kleineren Durchmesser als der Anschlußkanal aufweist (Bild 5.3.2.2.1.1.5.3-13) . In diese wird im zweiten Arbeitsschritt ein Kunststoffrohrstück mit einem konisch ausgebildeten und elastisch verformten Ende eingeführt, das sich von selbst nach einigen Minuten wieder aufweitet und somit eine Dichtwirkung erzeugt (Bild 5.3.2.2.1.1.5.3-13) .
Das "Du-Pont-System" [Gale82] ist mit dem vorgenannten vergleichbar. Die Aufweitung des konischen Rohrendes erfolgt abweichend mittels eines speziellen Heizgerätes (Bild 5.3.2.2.1.1.5.3-14) . Das in den Inliner hineinragende Rohrende wird mit einem geeigneten Schneidegerät entfernt (Bild 5.3.2.2.1.1.5.3-14) . Nach Beendigung der Arbeiten werden bei beiden Verfahren der Ringraum verfüllt, das Kunststoffrohr z.B. über eine Schrumpfmuffe mit dem Anschlußkanal verbunden (Bild 5.3.2.2.1.1.5.3-14) und die Baugrube verfüllt.
Neben den erläuterten Verfahren gibt es Konzeptionen, bei denen der Anschlußkanal in die Sanierungsmaßnahme des öffentlichen Kanals mit einbezogen wird. Über die dabei angewendeten Einbindungstechniken wird in den jeweiligen Abschnitten berichtet.
Bild 5.3.2.2.1.1.5.3-11:
Wiederherstellung der Einbindung eines Anschlußkanales in geschlossener Bauweise ("Toronto System") [Gale82] |
Bild 5.3.2.2.1.1.5.3-12:
Prinzipskizze des Duraton-Systems [Gale82] |
Bild 5.3.2.2.1.1.5.3-13:
Prinzipskizze der "Phillips Driscopipe minimum excavation technique" [Gale82] |
Bild 5.3.2.2.1.1.5.3-14:
Prinzipskizze des "Du-Pont-Systems" [Gale82]
|
